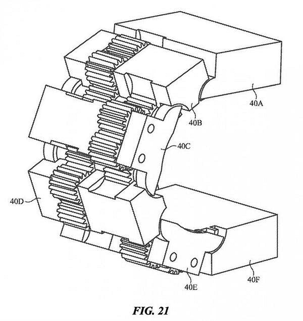
近日,蘋果公司獲得了一項全新的折疊螢幕鉸鏈設計專利,為折疊式設備帶來更高的靈活性與耐用性。 根據專利內容,該設計採用了指狀物與月牙槽結構,結合摩擦離合器,實現了更加穩定且平滑的折疊效果。

這項鉸鏈技術的亮點在於鏈節的月牙形槽,當設備折疊時,銷釘會沿著槽滑動,讓相鄰的鏈節圍繞柔性顯示面板內的旋轉軸實現協調運動。 不僅如此,專利還描述了一種齒輪同步機構,確保折疊過程的穩定性,進一步提升使用者體驗。
根據專利說明,這項技術不僅限於iPhone,還適用於iPad、Mac和Apple Watch等設備,顯示出蘋果在折疊式裝置領域的全面布局。

根據業界權威爆料人Mark Gurman的消息,蘋果可能最早在2026年推出折疊螢幕iPhone,並採用此專利技術。 這款產品將標誌著蘋果在折疊手機市場的首次亮相,讓粉絲對其創新設計倍感期待。
來源:遊俠網