根據外媒tech4gamers的報導,索尼最近申請了一項新專利,該專利為玩家提供了一個即時的、基於位置的反饋系統,可以在提供幫助之前檢測玩家的情緒爆發。

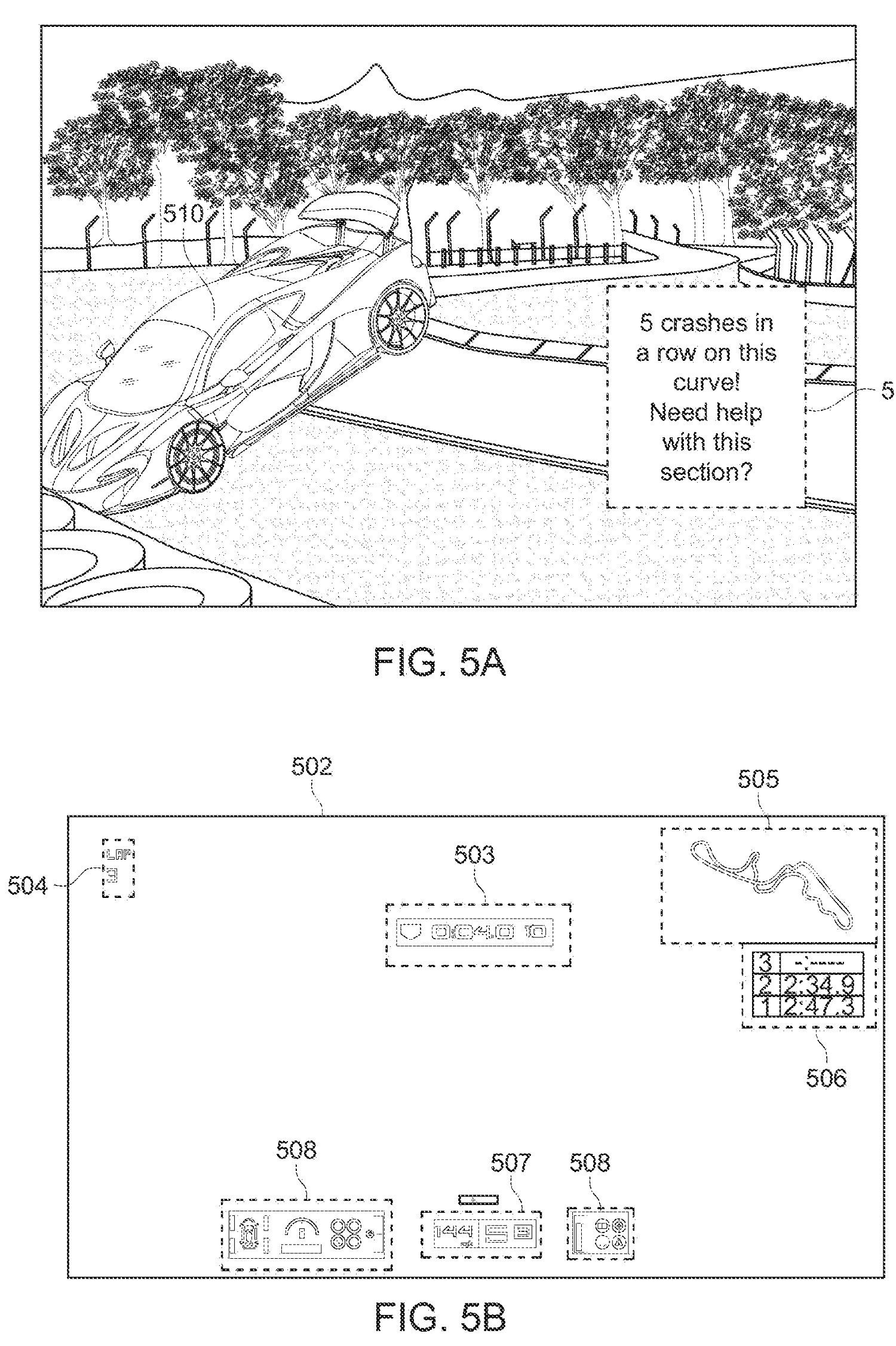
據悉,這個系統可能會在檢測到玩家在遊戲中出現反覆按下按鍵、言語爆發或遊戲特定部分的重複失敗後給予玩家建議。如果建議因為可訪問性問題或漏洞而不起作用,系統也可以即時調整遊戲玩法,例如削弱敵人的生命值或數量。
專利中指出:“如果玩家指出在控制器輸入和釋放之間存在延遲,反饋模塊可能會確定存在網路延遲問題,並可能相應地調整遊戲,例如,減慢敵人的反應速度”。



這項專利全稱為:METHOD FOR LOCATION BASED PLAYER FEEDBACK TO IMPROVE GAMES(基於位置的玩家反饋改進遊戲的方法),其中還指出許多玩家在遊戲發布後的互動是一個潛在的巨大的但尚未開發的玩家反饋來源,遊戲發行商很難在遊戲首次發布後根據玩家的即時信號大規模動態調整遊戲,如果該項專利成功實施,那麽發布後更新檔的需求就會減少。
值得一提的是,申請專利並不意味著一定會在遊戲中實施,具體情況還是要由索尼自己來決定。
