根據外媒gamerant的消息稱,目前索尼正致力於通過一種新的邀請系統來改進跨平台遊戲體驗,從而使PS使用者能更輕易地跟其他平台的朋友一起享受多人遊戲。

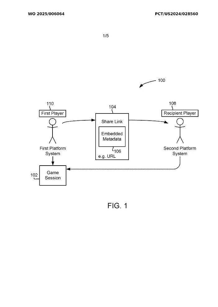
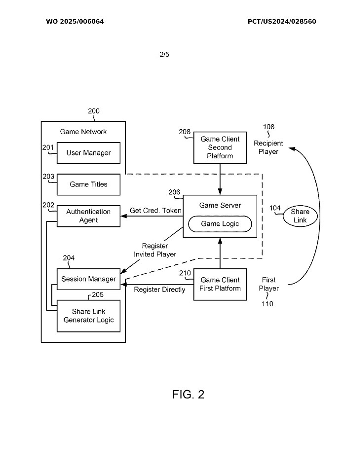
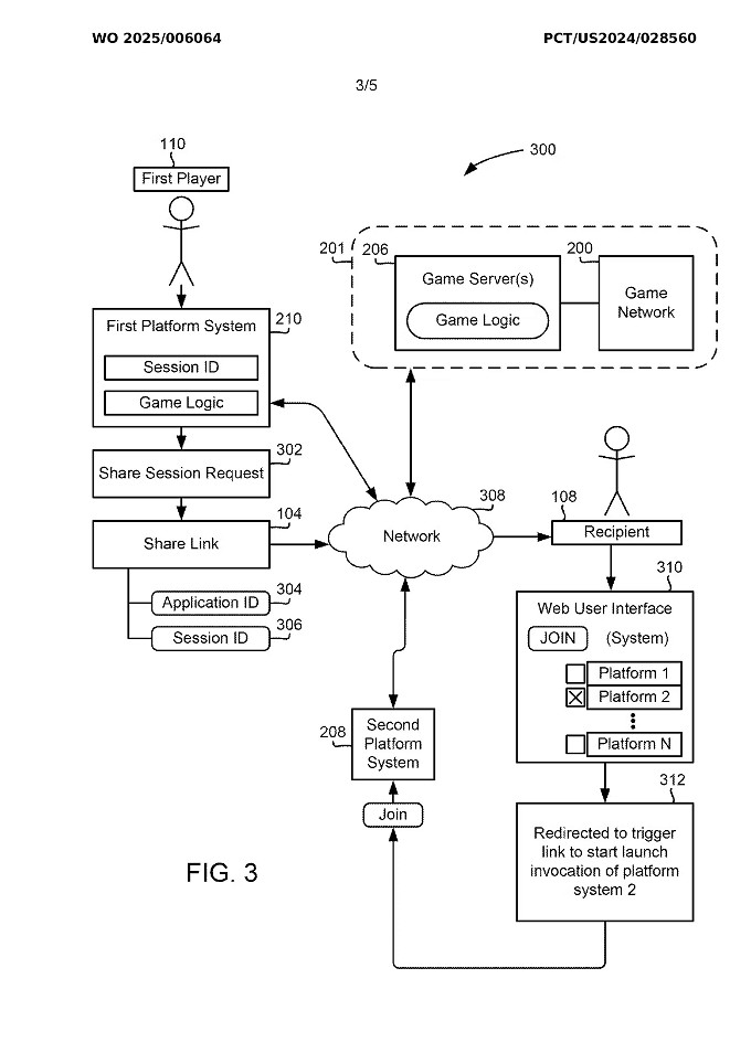
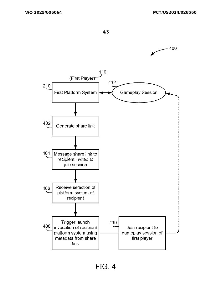
索尼於2024年9月提交、2025年1月2日公布的一項專利顯示,新的跨平台多人遊戲共享系統將允許使用者向線上好友發送邀請,玩家A可以生成一個遊戲會話並邀請連結與玩家B共享,而玩家B可以直接加入隊伍。這一系統將簡化跨平台遊戲的配對過程,提升玩家間的互動效率。




值得一提的是,這並不是索尼近日公開的唯一一項專利。此前還有一款全新的槍械配件被公布,玩家可以將其添加到現有的DualSense手把上,提供“扳機”功能,讓玩家在遊玩射擊遊戲時獲得更強的沉浸感。

來源:遊俠網