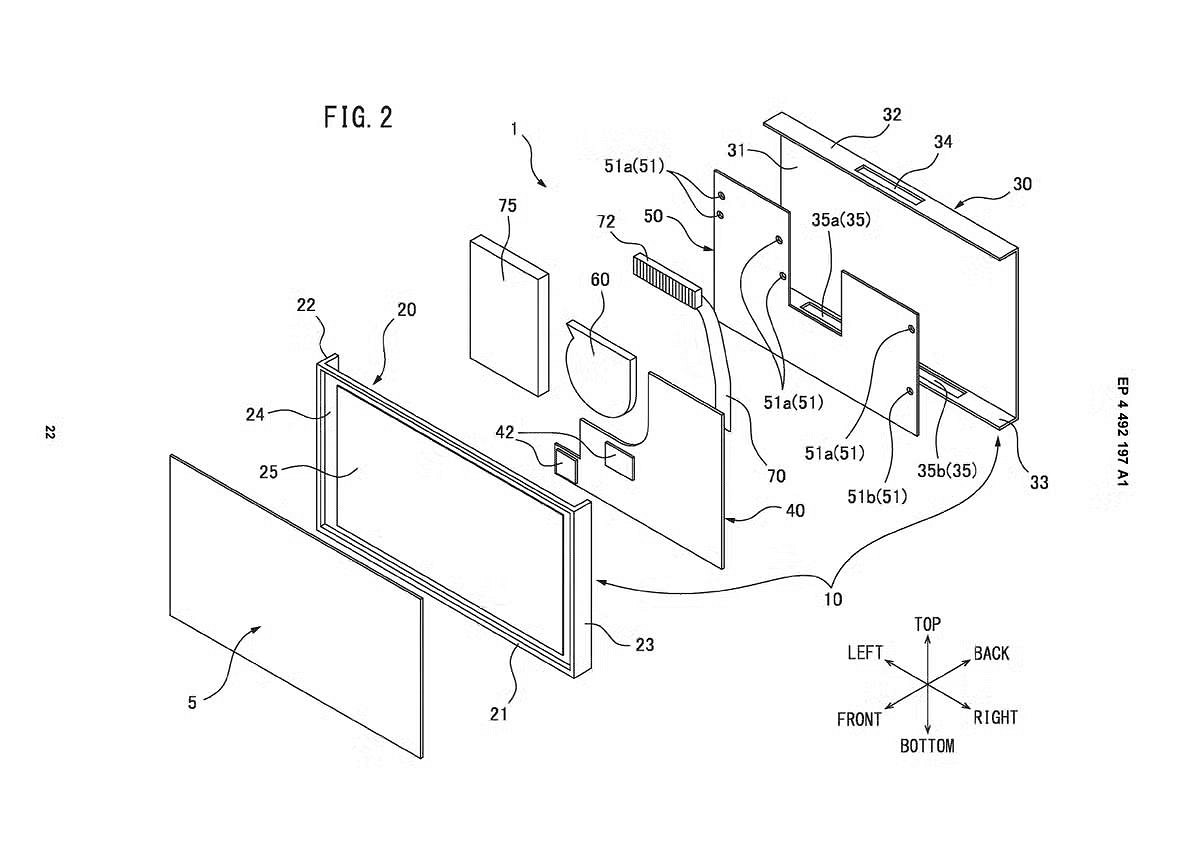
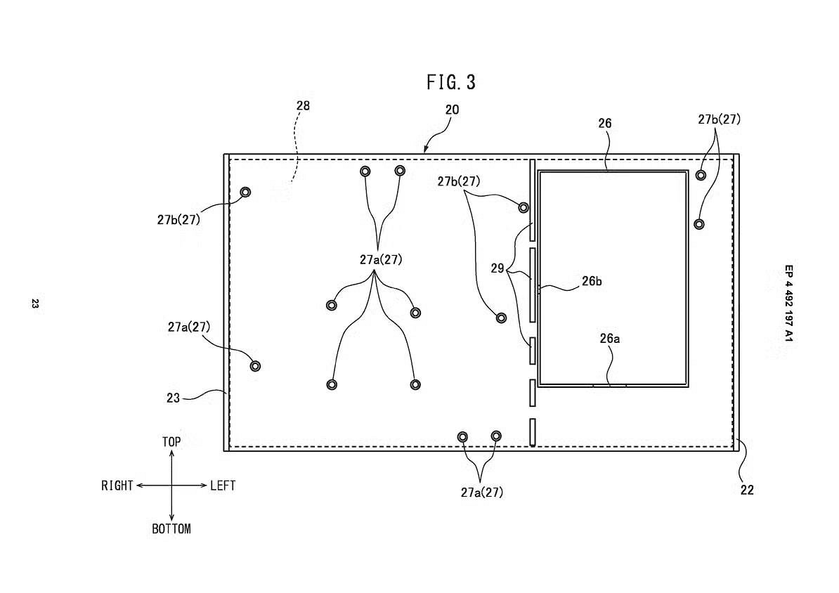
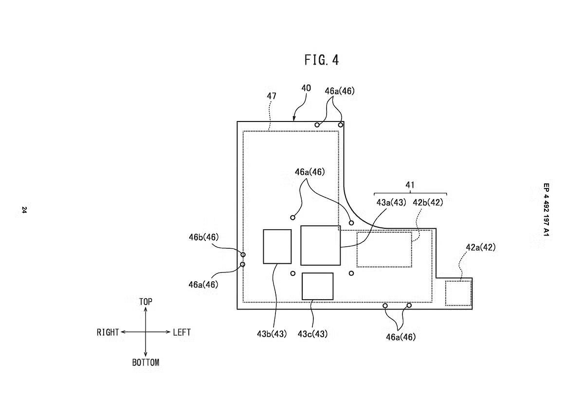
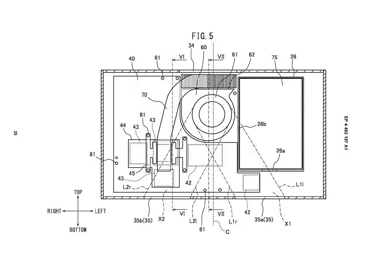
任天堂官方已經正式公布了Switch 2,而根據外媒gamerant的報導,任天堂在美國和歐洲發布的兩項專利近日已進入公示階段,這兩項專利似乎與散熱系統有關,該系統通過從主機外部吸入空氣來散熱,並附有示意圖。

gamerant認為,儘管這兩項專利未明確提到Switch 2,但它們是在Switch 2被公布後發布的,強烈暗示了這兩項專利與Switch 2的關聯。不過這僅僅只是gamerant的推測,要等Switch 2發售之後有人拆機才能得到驗證。








來源:遊俠網
傳到手機看
任天堂官方已經正式公布了Switch 2,而根據外媒gamerant的報導,任天堂在美國和歐洲發布的兩項專利近日已進入公示階段,這兩項專利似乎與散熱系統有關,該系統通過從主機外部吸入空氣來散熱,並附有示意圖。

gamerant認為,儘管這兩項專利未明確提到Switch 2,但它們是在Switch 2被公布後發布的,強烈暗示了這兩項專利與Switch 2的關聯。不過這僅僅只是gamerant的推測,要等Switch 2發售之後有人拆機才能得到驗證。








來源:遊俠網