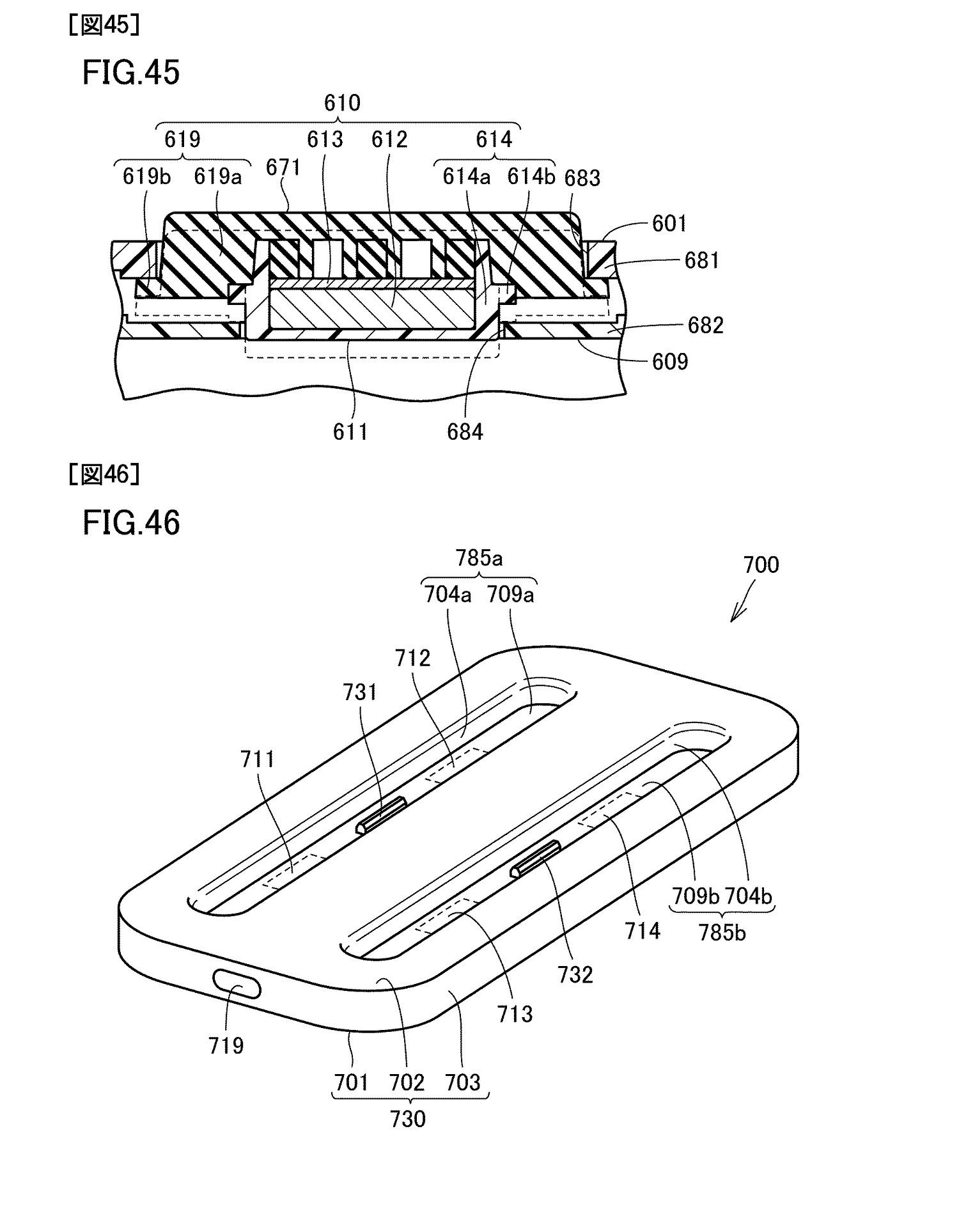
任天堂申請的專利中還展示了Switch 2 Joy-Con的手繩和充電底座,還有昨天公布的分體式的Pro手把更為詳細的圖片,分體式的Pro手把也可作為滑鼠使用。

雖然專利內容並不一定會真的作為產品被研發製造,但是也有可能最終面世。
任天堂在上個月公開了Switch 2的存在,並宣布將於4月舉行直面會,任天堂後續還公開了直面會的正式召開時間,任天堂Switch 2直面會將於4月2日正式召開。





來源:遊俠網
傳到手機看
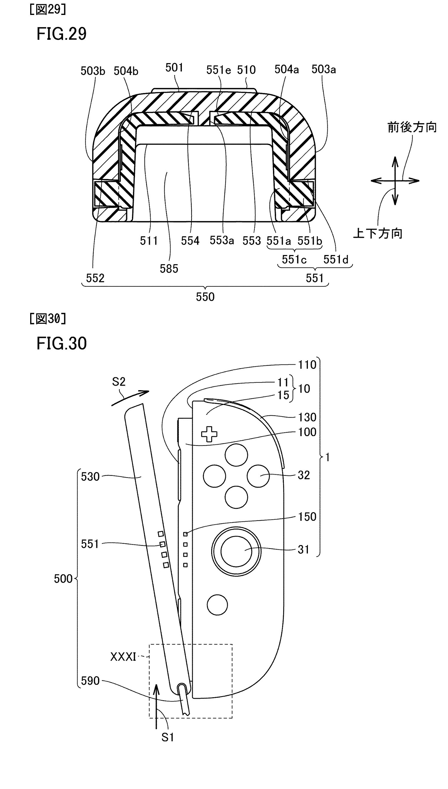
任天堂申請的專利中還展示了Switch 2 Joy-Con的手繩和充電底座,還有昨天公布的分體式的Pro手把更為詳細的圖片,分體式的Pro手把也可作為滑鼠使用。

雖然專利內容並不一定會真的作為產品被研發製造,但是也有可能最終面世。
任天堂在上個月公開了Switch 2的存在,並宣布將於4月舉行直面會,任天堂後續還公開了直面會的正式召開時間,任天堂Switch 2直面會將於4月2日正式召開。





來源:遊俠網