據外媒tech4gamers報導,EA近期公布了一項旨在利用AI技術替代人工執行遊戲測試環節的新專利。
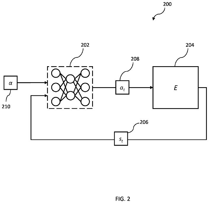
該專利描述了一種採用最新模擬學習算法的技術,該技術能生成多種模型,每個模型都會模擬出獨特的角色和行動模式。開發者只需簡單調整配置,就能輕鬆直觀地實現自動測試。

EA認為,遊戲測試在整個開發流程中占據舉足輕重的地位。然而,傳統的人工測試方式不僅成本高昂,而且耗時較長,特別是對於大型遊戲而言更為突出。而採用AI技術則能顯著加速測試過程,同時大幅降低測試成本。

近年來,EA一直在積極申請各類專利,深入探索和研究人工智慧技術在遊戲領域的應用,如“根據玩家遊戲習慣動態生成遊戲內容和推薦”、“NPC學習並適應玩家行為”等。或許在不久的將來,我們就能見證EA在遊戲測試環節應用AI技術的場景。
來源:遊俠網