在過去十年間,AI與遊戲技術實現了迅猛的發展,各大遊戲公司也紛紛競相申請極具創新性的專利。如今,索尼的一項全新專利或許將徹底顛覆我們現有的遊戲開發模式。

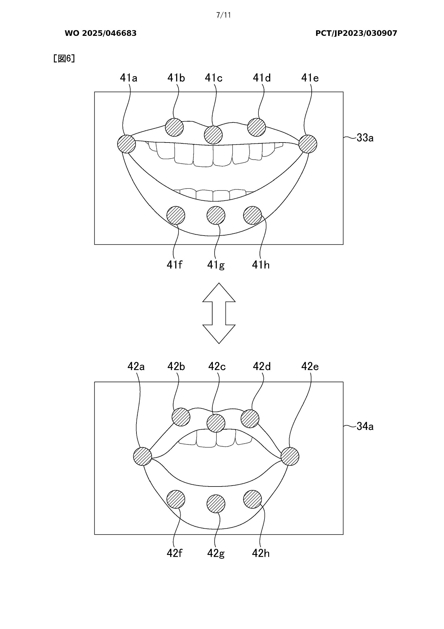
近日,索尼公布了一項新專利,該專利詳細闡述了一套專為遊戲NPC打造的次世代唇形同步系統。借助這一系統,能夠輕鬆達成多語言版本下譯製台詞與NPC嘴部動作的完美匹配。

此系統具備強大的評估功能,可對NPC嘴部動作在所有支援語言中的呈現效果進行全面評估,並為開發者生成相似度評分,為開發過程提供有價值的參考。不僅如此,該系統還包含自動化修復方案,能夠動態調整譯製語音的時長以及角色下頜的運動軌跡,從而精準地與原始台詞的時序節奏對齊。

索尼表示,NPC口型與本地化語音出現錯位會嚴重破壞玩家的沉浸感,進而導致玩家感到失望。以往採用的傳統手動調整方式不僅耗時費力,而且效率極低。而這項新技術有望將開發團隊從繁瑣的重複勞動中解放出來。倘若該技術最終能夠成功落地應用,極有可能大幅縮短遊戲的開發時間。
來源:遊俠網