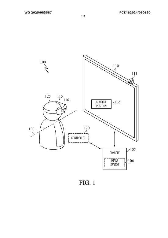
索尼最近一項專利得到公開,顯示其正在開發一套使用者追蹤系統,該系統旨在幫助玩家保持良好的遊戲姿勢,避免長時間遊戲過程中因彎腰駝背而引發的健康問題。

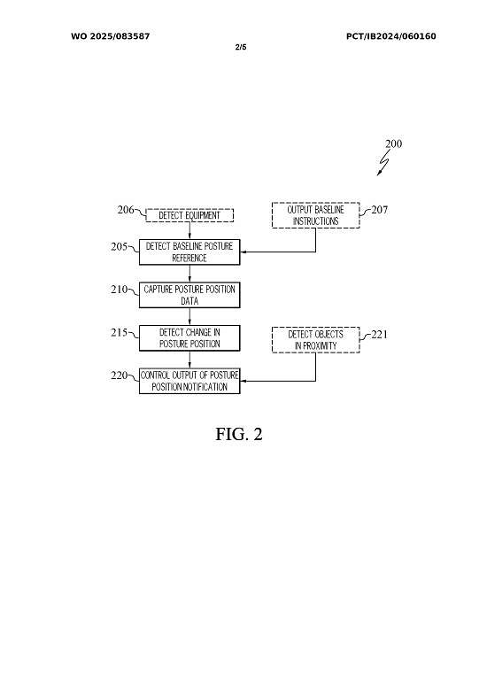
據了解,該專利於2024年10月提交,2025年4月25日公開。根據描述,該系統可在遊戲開始時追蹤玩家的姿勢,並在玩家開始彎腰駝背時發出提醒。系統會在遊戲開始時設定一個基準姿勢,並在玩家姿勢發生變化時在螢幕上提示玩家調整,以避免因不了姿勢導致的健康問題。





雖然索尼無法保證使用者在收到提醒後會調整姿勢,但該專利確實表明索尼了解遊戲玩家的習慣,並希望以創新的軟體系統的形式提供幫助。
當然,考慮到索尼實際上有很多申請後卻從未真正投入使用的專利,因此,我們或許還要很久才能實際見到這個功能。
來源:遊俠網