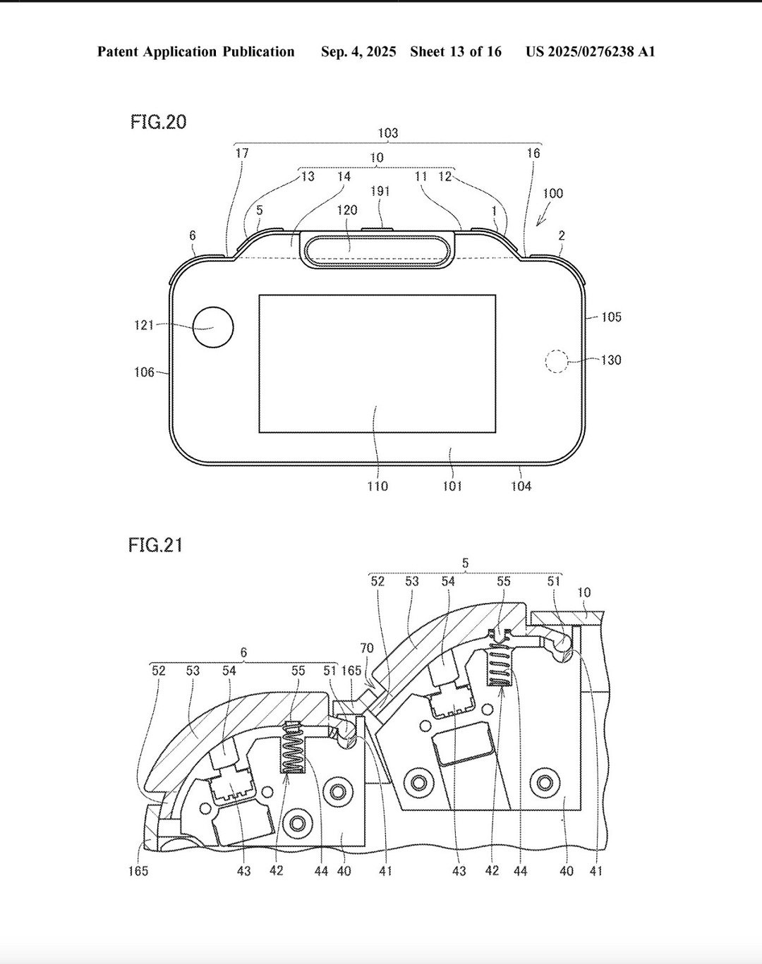
任天堂的雙屏專利最初於2023年公開,並於9月4日獲得更新。

根據專利檔案推測,該配件或可作為Switch主機的擴展設備,提供類似NDS或Wii U的雙屏體驗。玩家可在主螢幕與附加螢幕上實現上下分屏或異步內容顯示,並支援觸控與筆輸入功能。這不僅意味著更多經典遊戲有望以原貌重現,也可能為新遊戲帶來全新的交互方式。

該專利公布時,正值《空洞騎士:絲之歌》發布新消息引發玩家熱烈關注,導致這一情報稍被掩蓋。儘管如此,消息仍在核心玩家社群中快速傳播。不少網友表示,若消息屬實,這將是對任天堂經典遊戲遺產的重要延續,也是對現有NSO訂閱服務的一次重大升級。

玩家自製渲染圖
如果該專利最終實現,任天堂將進一步加強其歷代硬體之間的生態連接,為玩家提供更連貫、更豐富的遊戲體驗。同時,這也可能意味著Switch2將更注重向後相容性與功能擴展,而非僅僅聚焦於性能提升。目前,任天堂尚未對該專利發表評論。



來源:遊俠網