雖然媒體和玩家都對PS5的設計讚賞有加,但是也有玩家對索尼的工業設計非常好奇,最近PS5被曝光了專利藍圖,展示了其內部工作原理。

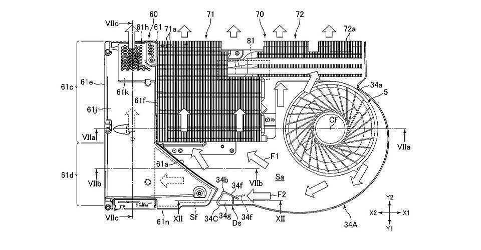
2020年9月24日,索尼互動娛樂公司向世界智慧財產權局 (WIPO) 申請了一項“電子設備”專利。該檔案於2021年9月30日發佈。在121頁的設計圖中詳細描述了PS5的工作原理。從PS5的硬碟到散熱系統都有提及。

雖然受到疫情的影響,PS5貨源緊缺,但PS5仍是索尼去年銷售最快遊戲主機。在上市後,索尼繼續通過線上更新對PS5進行升級,最近的一次更新增加了對可拆卸M.2固態硬碟的支援,允許玩家擴展主機的儲存空間。在日本和澳大利亞等國家,還有一款更新的PS5型號上架,以此降低主機制造成本。
完整專利圖:點擊查看>>>

雖然PS5仍在努力解決貨源短缺問題,但關於PS5 Pro的消息已經在網上流傳。據外媒猜測,索尼發佈這款Pro型號至少還需要兩年時間。