任天堂絕對是遊戲行業中比較神秘的公司之一,從遊戲上來說,比起其他家的“爆料”“泄密”,任天堂的遊戲總是悄悄做完然後放個宣傳片就馬上發售了。除此之外,任天堂在遊戲硬體技術方面是最大的創新者之一,但也一直保持著低調和神秘。

一位推特使用者發現,任天堂在去年(2021年)7月申請了一項手把專利。該專利於今年(2022年)1月初公示,但居然都沒人發現!就這麽默默過了快兩個月才進入人們的視野之中。

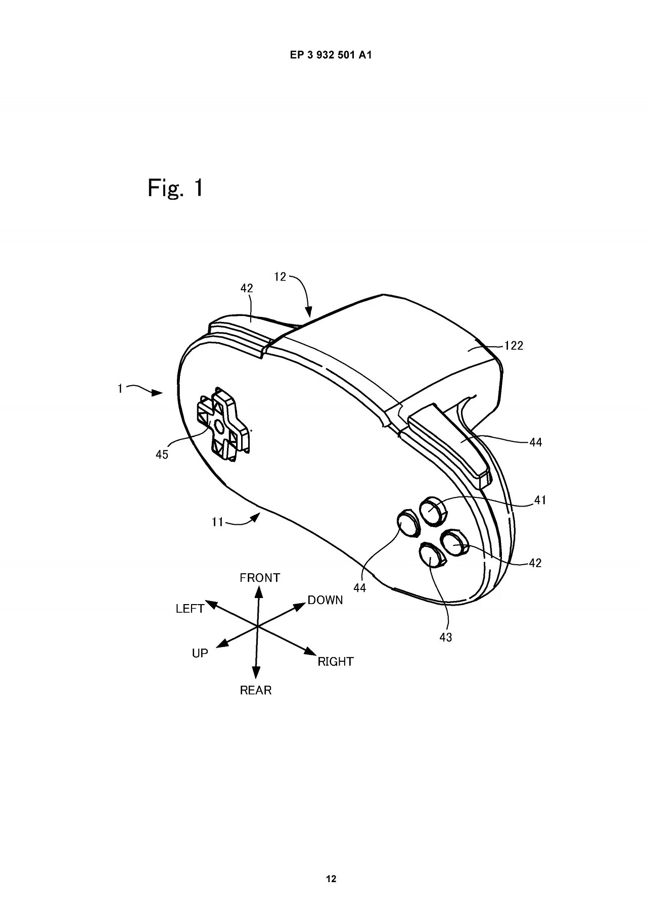
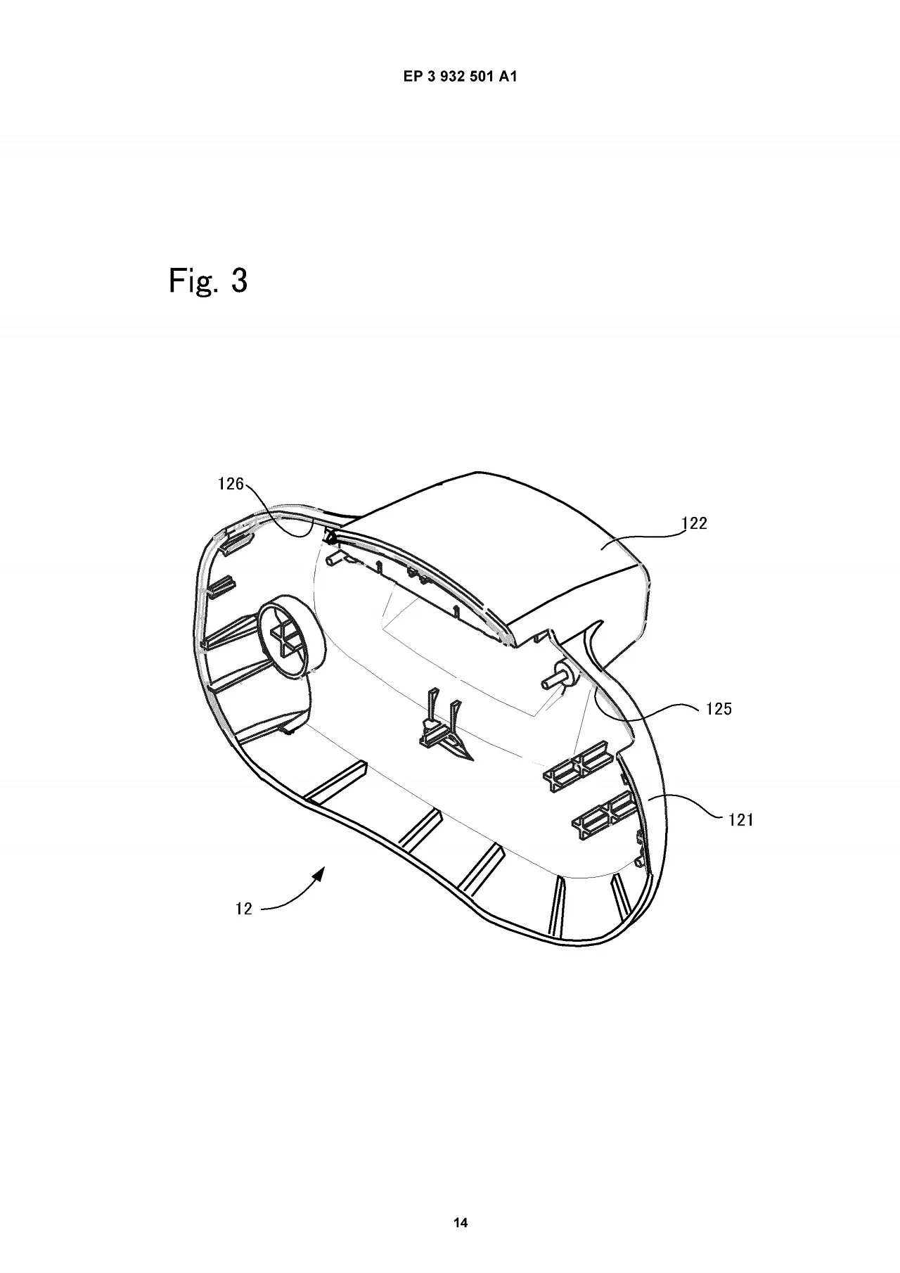
該專利可在此處查看詳細,但可以從頁面中獲得到的訊息並不多。除了一些有趣的設計概念,這款手把看起來有點像N64手把的上半部分,而帶搖桿的下半部分“三叉戟”則消失不見了。此外手把背部還有一個奇怪的巨大凸起,很可能是電池倉。



那麽這說明了什麽?可能……什麽都沒有,不要抱太大希望。從外觀來看,這最有可能的是為Switch配備的N64手把。但考慮到任天堂此前已經發布了為Switch準備的復刻版N64完整手把,這個截了上半部分的設計又是意欲何為?

雖然搞不懂任天堂為這些奇奇怪怪的東西申請專利是想幹啥,但是看看任天堂想要保護的想法總是很有趣的。除此之外,任天堂也可以算作是專利的畫餅大王了,比如這個在2019年申請的鉸接式Joy-Cons,3年過去了我們仍然沒有它的任何消息。


您覺得這個新手把的設計怎樣?歡迎在下面評論區分享您的看法!
來源:遊俠網