雖然並沒有很多人想的那樣獲得大範圍普及成為“趨勢”,但VR硬體的價格近幾年倒是實打實降下來了,足以讓真正感興趣的玩家去嘗試一下VR遊戲的沉浸感。與此同時,VR相關領域公司也並沒有放棄,一直在致力於給VR硬體設計提供更加多樣化的體驗。
在PSVR和OculusQuest的市場競爭環境中,催生出了一些像眼球追蹤之類的專利,以優化次世代VR裝備。也有公司另辟蹊徑,開始琢磨那些VR玩到一半並不想離開虛擬世界卻又想要喝兩口的玩家應該怎麽解決這一問題。
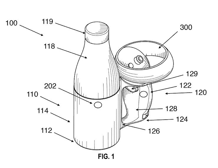
最近有一項專利技術,內容是一種讓玩家可以在玩遊戲的時候喝水的VR系統。這項專利註冊在特定的遊戲類目下,比如“卡牌/桌遊”和“遊戲配件”,但並沒有與之相關聯的遊戲作品。

名為BogieInc.的公司註冊了這項專利,在具體設計內容中可以看到一款互動搖桿,旁邊加一個支架可以放瓶子。這樣在一些節奏緊湊的VR遊戲中,玩家就不用在VR和現實世界之間切換去找水喝了。
乾得漂亮,下一項專利應該要解決如廁問題了。