距離索尼官方公布PS VR2已經有一段時間了,官方還在GDC上面進行了面向開發者的專題展示。目前這款設備暫未公布具體的發售日,有消息稱索尼的目標是趕在今年年內發售。

PS VR2有非常多讓玩家感覺舒適的改動,PS VR2相比前代設備更加輕盈,新增通風口讓佩戴者不會感覺過於悶熱。手把方面則加入了手指探測技術,玩家甚至不用按鍵就可以完成指令輸入。

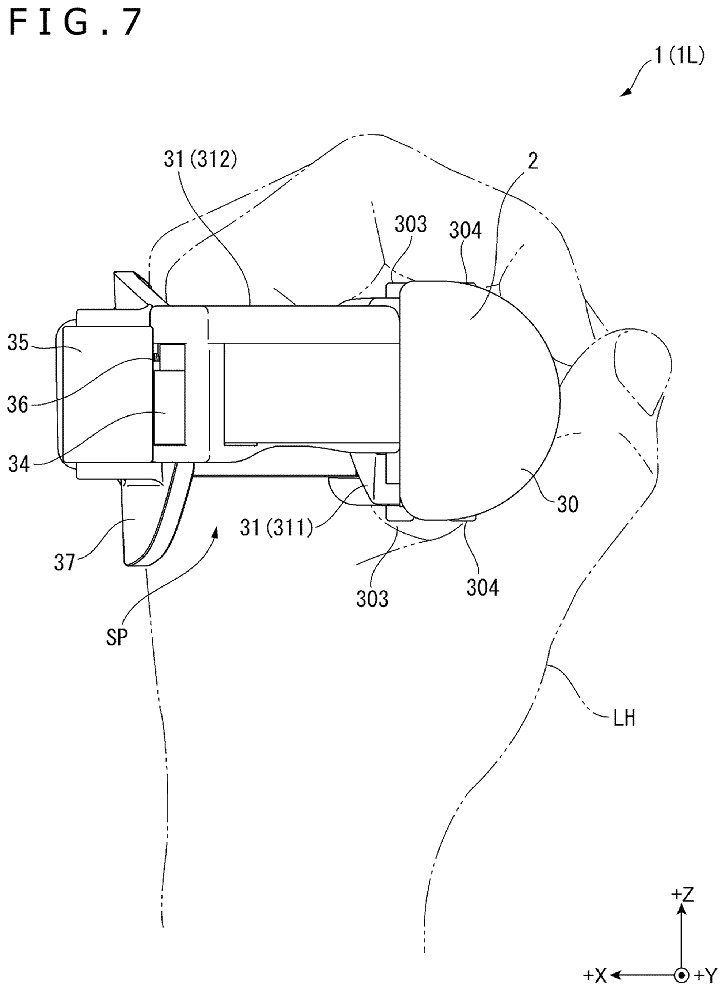
有網友最近發現了索尼註冊的一個與手把有關的新專利,根據描述,這項專利是一種附有束帶的手把,讓遊戲過程更加安全,當然這也是類似手把的常規設計了。不過,僅根據專利看,現在還無法判定束帶的具體位置。

還有人提出了一種理論——索尼可能會研發與Valve Index的指節手把類似的控制器。這種手把讓玩家可以做出抓握的操作,更增真實體驗。而專利中附帶的圖片與我們所見過的手把都不太一樣,這可能是PS VR2附帶的手把原型。
來源:遊俠網