索尼PS VR2的官網上線已經有一段時間了,最近還在GDC上面向開發者進行專題展示。這台設備暫未公布上市日期,有消息稱索尼的目標是趕在今年年內發售。就這台設備本身而言,其中有很多能讓使用者使用起來更加舒服的設計改動。PS VR2相比前代設備更加輕盈,新增通風口讓佩戴者不會感覺過於悶熱。搖桿方面,加入手指探測技術,玩家甚至不用按鍵就可以完成指令輸入。
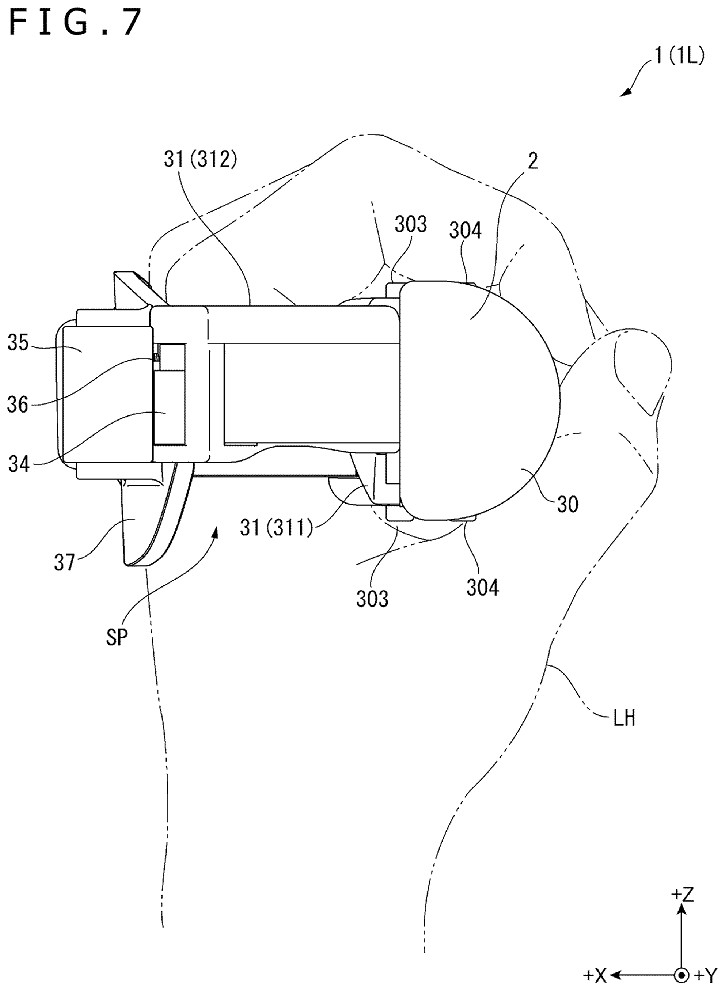
最近,有網友發現索尼註冊了一項與搖桿有關的新專利。這項專利描述的是一種附有束帶的搖桿,讓遊戲過程更加安全,當然這也是類似搖桿的常規設計了。不過,僅根據專利看,現在還無法判定束帶的具體位置。

還有一種理論認為索尼可能會研發與ValveIndex的指節搖桿類似的控制器。這種搖桿讓玩家可以做出抓握的操作,更增真實體驗。而專利中附帶的圖片與我們所見過的搖桿都不太一樣,這可能是PS VR2附帶的搖桿原型。不管怎麽樣,這都更能增添VR玩家對這款新設備的興趣。