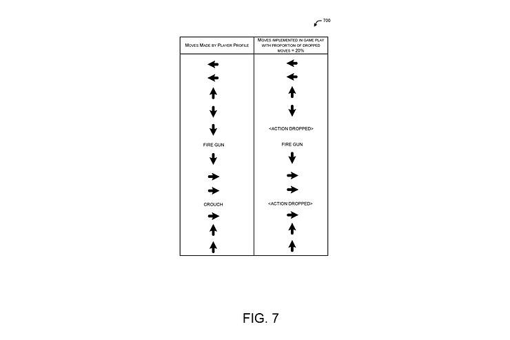
EA旗下的《戰地》系列、《Apex英雄》等遊戲一直飽受外掛的困擾,讓正常遊玩的玩家苦不堪言,據報導EA 正在自己新的反作弊系統,並且這個反作弊的工作方式非常“聰明”,在識別玩家開掛後,能自動忽略十個輸入指令的20%。

據悉,該反作弊系統忽略的輸入指令是隨機的,至於為什麽只忽略20%,專利中提到,這樣的方式讓開掛者不容易察覺自己已被監測,由於作弊玩家無法判斷在輸入哪個指令會失敗,甚至讓開掛者懷疑是自己的設備問題。另一方面,在開掛者處於不理地位一臉懵逼時,普通玩家能夠輕易擊敗他們。

EA 正在開發的反作弊系統還聲稱能夠檢測玩家帳戶是否與另一個先前被發現作弊的帳戶相關聯。因此,作弊者無法僅僅通過新建角色玩遊戲來避免處罰。

來源:遊俠網