V社近幾年在遊戲開發方面沒有太多建樹,他們似乎更加專注於硬體產品。2019年V社發布了Valve Index VR產品,它至今仍然頻頻登上Steam周銷榜Top10。而現在有小道消息稱:V社可能計劃推出新一代VR產品,名為“Deckard”。

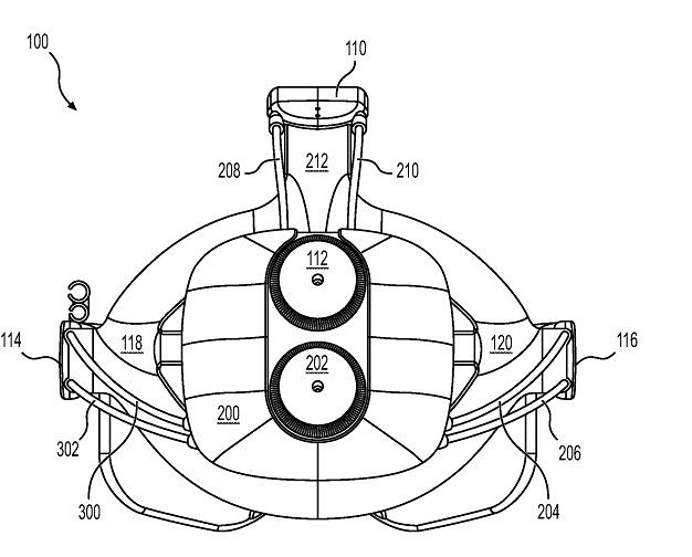
網上有人爆料了四張圖片,並表示這是“Valve Deckard”虛擬實境頭戴顯示器產品的圖片。這些圖片看起來比較像是專利申請圖片,這意味著它們不一定會真的發布於市場上。不過幾個月前也曾經有過消息稱V社打算做一款新的獨立的VR頭戴產品。


今年V社新推出了“Steam deck”掌上PC機,可以讓玩家隨時隨地遊玩Steam版PC遊戲。這款掌機的最大優點是價格比大部分其它Windows掌機便宜許多,因此有人猜測,新的“Valve Deckard”VR頭顯可能也會有一個入門級的定價。


不過也有玩家擔心,目前VR設備的一大問題是遊戲陣容不夠好,許多人買了VR設備後沒多久就放去吃灰了,與主機和PC相比,VR大作的發售頻率確實偏低。不過V社之前已經用《戰慄時空:愛莉克斯》證明他們有實力打造高品質VR遊戲,或許新的“Valve Deckard”設備能有不錯的表現。
來源:遊俠網