Valve公司向美國專利商標局提交了一項新專利,展示了一款傳聞中的新型VR設備的摘要和藍圖,該頭盔類似於Meta Quest和Quest 2。

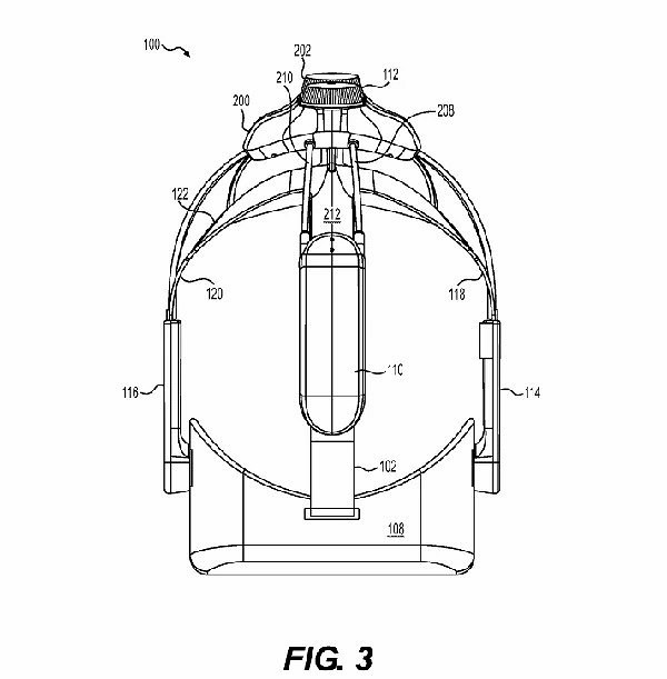
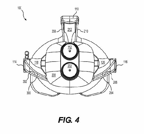
該專利於2021年12月提交,並於2022年6月16日公布。這份53頁的檔案包括一份摘要,描述了耳機的實體產品和部件組件的圖像。該產品沒有被命名,但它的標題為“頭戴式顯示器”。
該摘要將該產品描述為“前部具有顯示器外殼,後部具有後部外殼”。最前方的構件在前方和後方之間延伸,並且通過最前方的可旋轉致動器和最前方的布線機構進行調節。
與大多數專利一樣,專利摘要更像是一份列印出來的藍圖,而不是產品本身的描述,但這些圖片可能暗示了Valve將推出的新型VR頭盔的樣子。
專利圖片:





在2019年,Valve發布了其最新的VR設備“Index”,而長期以來一直有傳聞稱該公司正在開發另一款設備,一款代號為“Deckard”的獨立VR設備,它將與Meta Quest和Quest 2競爭。
擁有專利並不代表著產品一定會發布,但我們可以推斷Valve的新VR設備可能正在開發中。