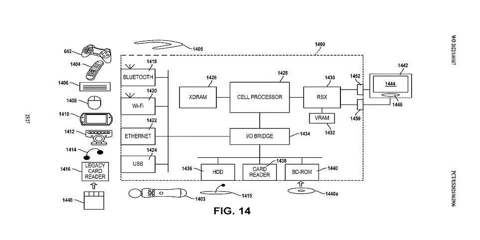
外媒Game Rant發現,索尼獲取的新專利表明,索尼似乎試圖讓舊的硬體,如外設、手持設備,通過PS5模擬使用。PSP GO、EYETOY和DualShock 3都包含在這份新的檔案中。

從下圖中我們可以看到,DualShock、索尼媒體遙控器、PlayStation鍵鼠、EyeToy、PlayStation Move手把和記憶卡等等。索尼早就拋棄了這些技術,其中最現代的是PlayStation Move手把,它仍然用於PlayStation VR的第一次迭代。

有趣的是,這些設備主要來源於PS3時代,或許是表明了索尼為了在PS5上模擬PS3環境而做出的一部分努力。但由於目前還除了PS Move wand之外,沒有其他任何設備可供購買,所以這可能只是索尼在軟體中模擬這些道具的功能,探索如何通過模擬讓這一舊技術發揮作用,而不是與PlayStation 5相容。
隨著索尼新推出的PlayStation Plus服務上線,目前PS Plus會員最高檔提供了PS到PS3的經典遊戲遊玩。其中PlayStation、PlayStation 2和PlayStation Portable的遊戲都是通過模擬的方式提供遊玩,但PlayStation 3卻因為其獨特的技術而難以模仿,只能通過串流媒體播放。

來源:遊俠網