周一是什麽?我滿腦子都是爵爵子。
1、怪獵Steam周銷霸榜!Steam Deck五連冠
玩Steam的朋友,22%都升Win 11了,你現在是啥系統呢?好了新一周Steam周銷榜公開,本周排第一的還是它,又是一波五連冠的Steam Deck成功問鼎,之前V社說了,每周的出貨量都要翻一番,不過呢有人也發現V社悄悄修改了Steam Deck部分型號的SSD規格,但官方說了沒啥影響就是了。

接下來,毫無懸念瘋狂霸榜的《魔物獵人:崛起》,其最新DLC“曙光”成功拿下了第二第三位,而仍在半價促銷的原版也穩居榜單第七,最高已經突破23萬的同時線上,別問,問咱都是老獵人。玩的人雖然多,但“曙光”的評價顯然出了點問題,總共1700條評測,好評率只有“褒貶不一”,中國這邊更狠,直接就“多半差評”了,主要原因還是閃退崩潰。
再往後,1.0版推出不久的開放世界合作生存遊戲《RAFT》第四,亞克系統格鬥新作《DNF決鬥》第五,亞克的格鬥,品質保障自然是有的,只是可惜本地化拉滿但鎖中國,怎辦呢?怪誰呢?新發售的年貨賽車《F1 22》佔據第六第十,評價目前也只有“褒貶不一”,除了手感、換皮的問題,卡頓、崩潰等優化不足也比較明顯,直播一個半小時能崩四回,巴林都開不出去我謝謝你了。最後《小蒂娜的奇幻樂園》第八,《RUST》排在第九。
2、慶祝周年?暴雪起訴《魔獸爭霸3》開源Mod引擎作者
恰逢RTS經典《魔獸爭霸3》發售20周年,暴雪啊,有啥慶祝活動啊?
有,咱起訴個人吧!
最近《魔獸爭霸3》的開源Mod引擎“Warsmash”的作者Retera,收到了來自動視暴雪的律師函,他本人也在直播中向玩家們展示了這則來自暴雪的郵件。

根據暴雪的要求,他必須馬上停止有關“Warsmash”的所有相關工作,並且將其從網上移除,否則動視暴雪就將提起訴訟。據了解,這款於2021年推出的開源Mod引擎,早在數年前作者便有了打造它的想法,這事跟糟糕的War3重製就沒關係,他也從來沒有獲利打算,沒想到還是受到了暴雪的制裁。
3、日本男子沉迷VR,後腦杓處竟頭骨凹陷
這就是二次元的代價嗎?最近一名沉迷VR睡眠的日本網友,發推表示因為自己連續兩年頭戴VR頭盔睡覺,並且還不喜歡翻身,只仰著睡,導致現在自己的後腦杓處已經出現了變形凹陷,根據他自己的測量哈,左側凹了3毫米,右側則凹了約毫米。欸頭雖然凹了,但看VR再也不暈了,精神都更振奮了。

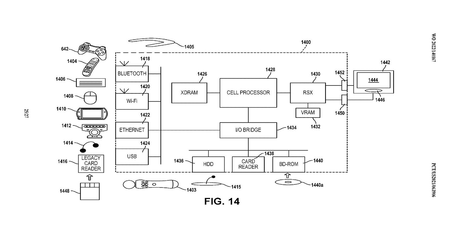
4、相容PS3…的設備,索尼全新專利揭開
一項索尼新申請的全新專利於近日被揭開,索尼可能正在嘗試將來自PS3的舊硬體們,與PS5進行相容。從圖中可以看到,例如舊版DualShock搖桿、索尼媒體遙控器、PS滑鼠、EyeToy、PS Move等等外圍或手持設備均有提及,甚至可能還包含PSP Go掌機。鑒於目前PS3遊戲正在通過雲遊戲形式,在升級版PS Plus服務中提供遊玩,還不知道這個專利將以怎樣的形式發揮作用。
