據外媒報導,索尼的一項新專利表明,他們正計劃為PS VR2添加一項新的無障礙功能,該功能將使PS VR2能去即時適應玩家的行為。

索尼可能計劃用它來減少PS VR2對一些活動範圍有限的玩家的影響,特別是那些無法適應遊玩之前的虛擬設備的玩家(比如需要大場地的VR設備)。

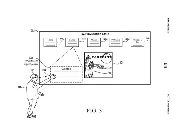
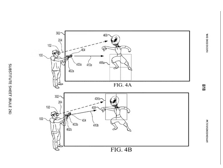
專利中確切地闡述了PS VR2計劃如何使用這一系統,從玩家的角度來讓選單易用性更好。這個新功能最有趣的地方在於它不是玩家設定的,而是跟蹤玩家的運動來進行動態變化。

該專利本身詳細說明了該系統的目標是監控玩家在使用PS VR2和控制器時,何時嘗試與虛擬實境世界中的對象進行交互。它會嘗試了解玩家可以在哪裡進行交互,然後動態移動選單以將它們放置在最容易訪問的區域內。這也能大幅提升玩家的遊戲體驗。
來源:遊俠網