根據索尼最新的專利清單透露,該公司正開發一種幀數補償系統,進一步提高遊戲的流暢度。

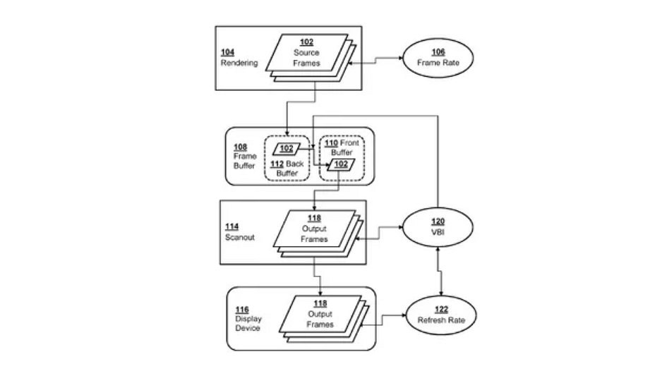
專利顯示,PlayStation 5 的 VRR(可變更新率) 可能會在未來某個時候進行升級,一種特殊的幀速率補償系統正開發中,該系統通過掃描 GPU 的渲染幀並補償來自所需目標幀速率的波動,減少遊戲幀數的下降。

今年9月時PS5加入了VRR技術,它可以動態調整顯示器的更新率,讓其始終與GPU輸出的幀數相同,大大緩解螢幕撕裂並提高遊戲流暢度。考慮到PS5已經上市快2年了,才加入VRR,上述這個特殊的幀速率補償系統估計也不會很快上線。

來源:遊俠網