種種跡象顯示,NDS名作《任天狗》可能要復活了。
任天堂近日在美國提交專利註冊,其細節描述與任天狗非常相似。任天堂在2020年已於日本註冊了同樣的專利。

由於法律限制,“任天狗”字樣並未在專利描述中出現,但遊戲描述顯然與其相符。
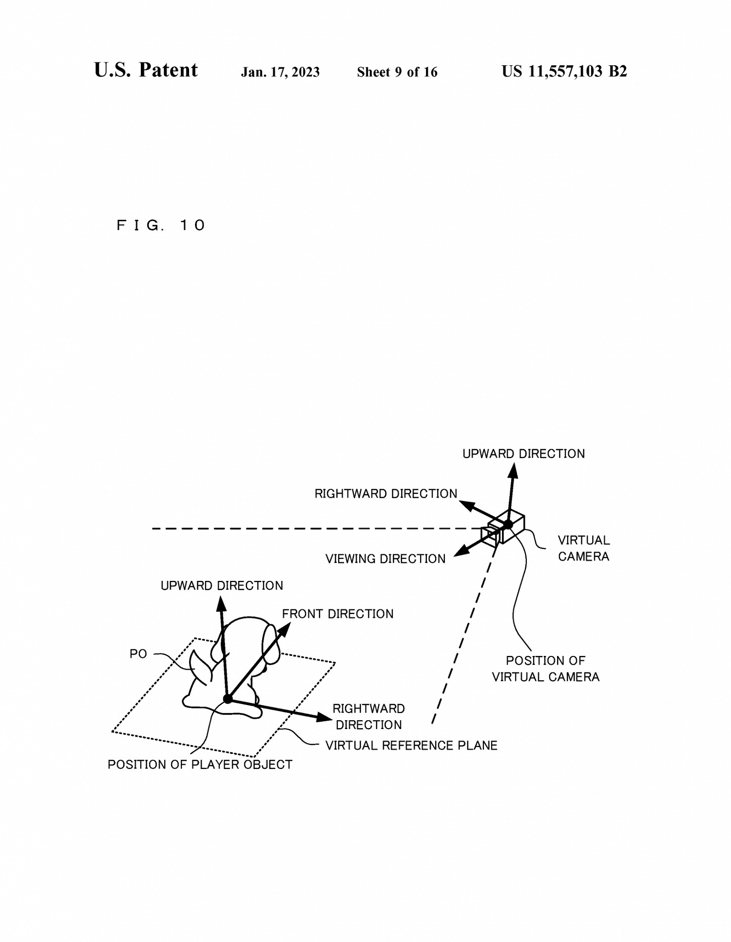
在圖片可以看到狗狗出現在手機螢幕內,位於手機攝影頭拍攝的空間。另一張圖片清楚地表明,狗是通過虛擬相機投射的,其動態位置會發生變化以適應玩家和手機相機本身的位置。


其實任天狗的產品屬性與手遊很搭,任天堂多年來一直沒有行動反而是更讓人感到意外的。
傳到手機看
種種跡象顯示,NDS名作《任天狗》可能要復活了。
任天堂近日在美國提交專利註冊,其細節描述與任天狗非常相似。任天堂在2020年已於日本註冊了同樣的專利。

由於法律限制,“任天狗”字樣並未在專利描述中出現,但遊戲描述顯然與其相符。
在圖片可以看到狗狗出現在手機螢幕內,位於手機攝影頭拍攝的空間。另一張圖片清楚地表明,狗是通過虛擬相機投射的,其動態位置會發生變化以適應玩家和手機相機本身的位置。


其實任天狗的產品屬性與手遊很搭,任天堂多年來一直沒有行動反而是更讓人感到意外的。