索尼PS5新專利!可以有效引導氣流,降低主機溫度! - 遊戲狂
廣告

索尼PS5新專利!可以有效引導氣流,降低主機溫度!

請拿手機掃描此QRCODE

傳到手機看

2023-03-06
廣告

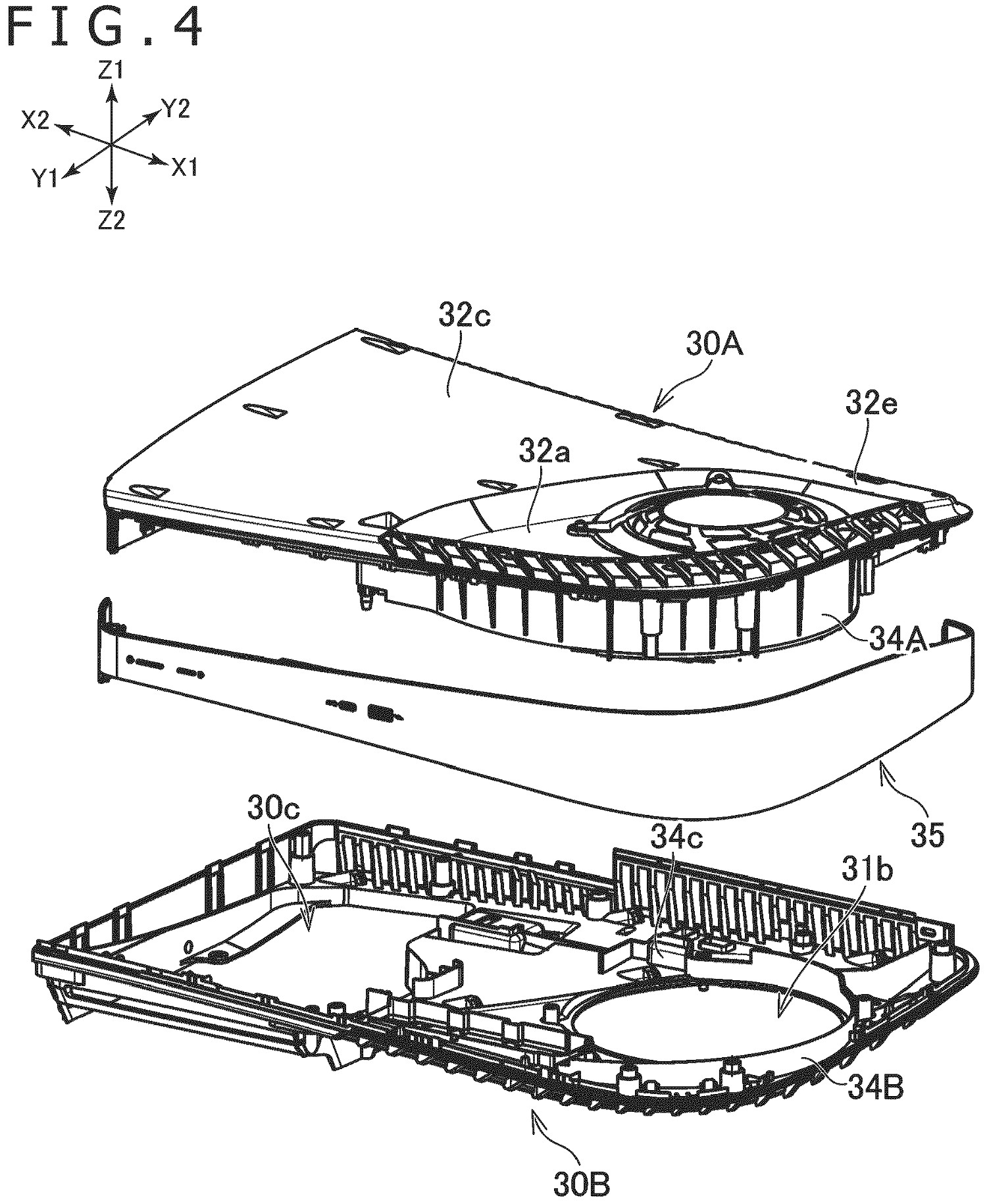
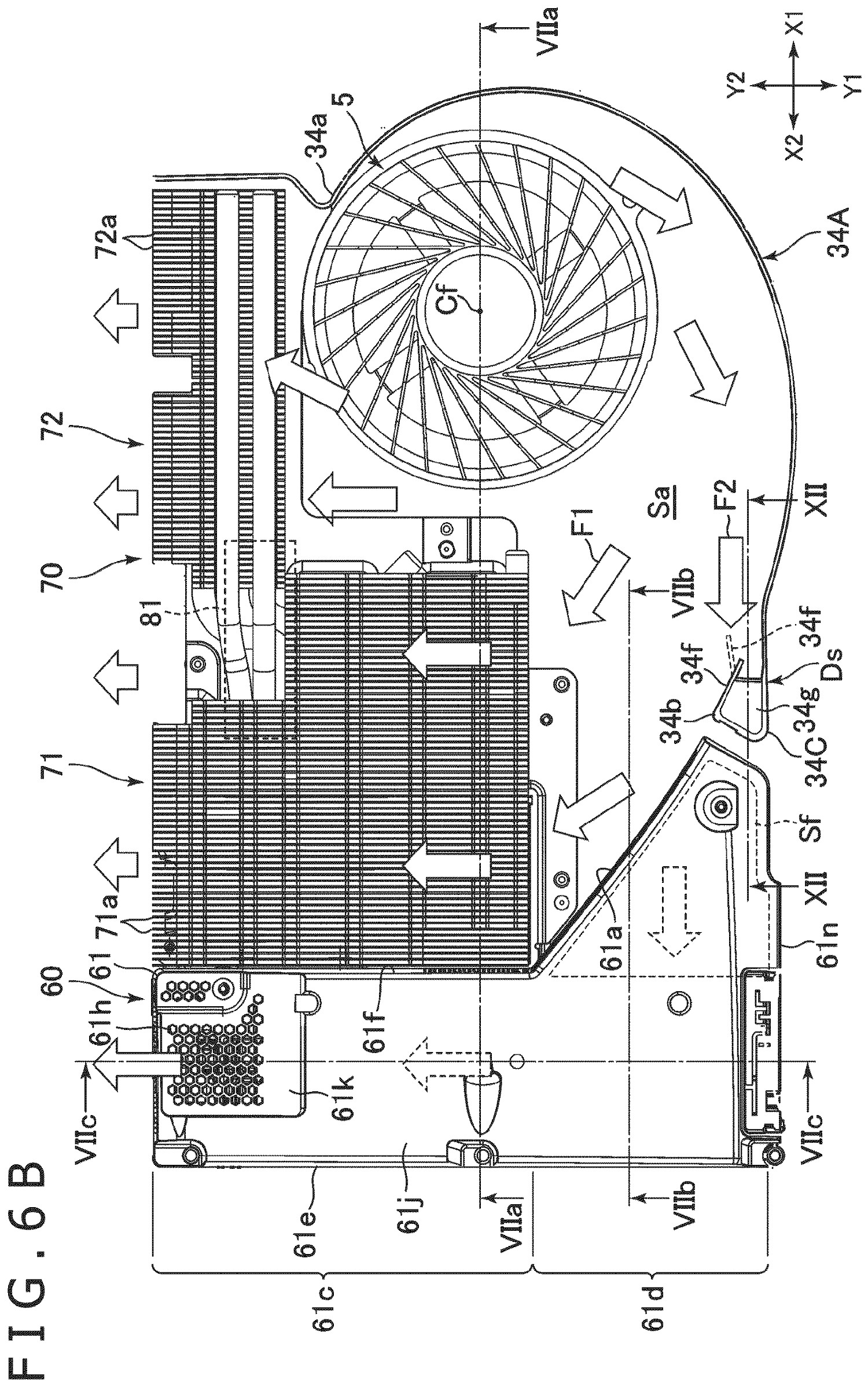
博主近日曝光了索尼對PS5申請的新專利,已於今年2月8日生效。該專利主要應用在了去年9月份左右推出的CFI-1200型號PS5中,博主表示其中加入了新的塑料壁,可以有效地引導氣流,降低主機溫度。

索尼PS5新專利!可以有效引導氣流,降低主機溫度!

廣告

索尼PS5新專利!可以有效引導氣流,降低主機溫度!

索尼PS5新專利!可以有效引導氣流,降低主機溫度!

索尼PS5新專利!可以有效引導氣流,降低主機溫度!


來源:遊俠網


廣告
廣告
博主近日曝光了索尼對PS5申請的新專利,已於今年2月8日生效。該專利主要應用在了去年9月份左右推出的CFI-1200型號PS5中,博主表示其中加入了新的塑料壁,可以有效地引導氣流,降低主機溫度。 https://gamemad.com/news/57536 https://img2.gamemad.com/2023/03/06/HBTshQM5.jpg https://img2.gamemad.com/2023/03/06/JFnzCtqH.jpg https://img2.gamemad.com/2023/03/06/tWsGTfH9.jpg https://img2.gamemad.com/2023/03/06/x8KQ9Unz.jpg 來源:遊俠網
https://gamemad.com/news/57536
0