根據外媒報導,索尼再多年前註冊的一項專利近日被公開,這項專利提到了某種裝置的外接光碟機,可能與可拆卸光碟機的PS5有關。

外媒segmentnext在報導中提到,索尼多年前的專利提到了某種可安裝在多種電子設備上的外接光碟機,這或許與傳聞中的擁有可拆卸光碟機的PS5有關。




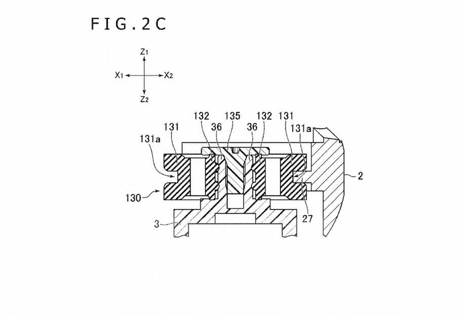
專利檔案還透露,這種外接光碟機能夠應用在遊戲機、個人電腦或視聽播放器等電子設備。需要的零件並不多,還添加了防震動的解決方案。雖然專利本身並沒有指出這與PS5有關,但是外形設計的部分還是有些相似的。
截至目前,可拆卸光碟機的PS5還只是傳聞,曾有報導稱,這款新的PS5將來有可能在今年9月正式推出,但是索尼官方並未出面確認。
來源:遊俠網
 金幣大師 (Coin Master)
 金幣大師 (Coin Master) 大富翁 GO (Monopoly GO)
 大富翁 GO (Monopoly GO) 蛋仔派對
 蛋仔派對 超能世界
 超能世界 豬遊記
 豬遊記 LINE金幣派對
 LINE金幣派對 夢幻海島
 夢幻海島 豬來了
 豬來了 薑餅人王國
 薑餅人王國 天天玩樂園
 天天玩樂園 
                    
                     
                    
                     
                    
                     
                    
                     
                    
                     
                    
                     
                    
                     
                    
                     
                    
                     
                    
                     
                    
                     
                    
                     
                    
                     
                    
                     
                    
                     
                    
                     
                    
                     
                    
                     
                    
                     
                    
                     
                    
                     
                    
                     
                    
                     
                    
                     
                    
                     
                    
                     
                    
                     
                    
                     
                    
                    