據gamerant報導,任天堂的一項新專利暗示任天堂下一代遊戲機可能支援與手機連接,一起來了解下。

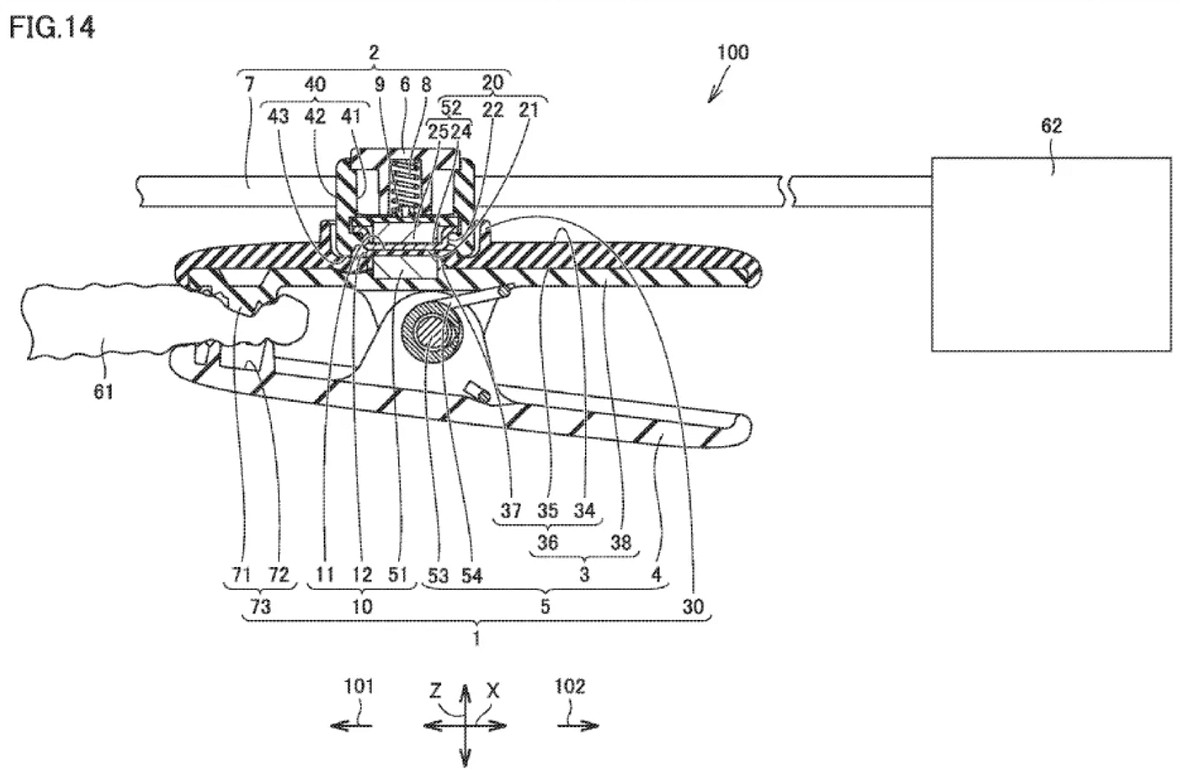
專利圖片如下所示,圖片中的62號對象,被描述為控制台,專利中介紹這個控制台包含處理器、記憶體和顯示器,暗示這可能是任天堂的下一代主機。而圖中還有一個巨大的夾子部件,gamerant認為這是類似手機支架的東西,該部件可以自由旋轉,並通過類似表帶的東西(100號對象)與控制台相連接。

值得一提的是,最近也不少關於任天堂下一代遊戲機的消息,例如:代號為“NX2”、性能接近PS4、帶有滾輪按鍵等。
來源:遊俠網