各位朋友早上好,來看看昨晚和今晨遊戲界都發生了哪些不容錯過的消息吧~
1,RTX4090《賽博2077》全景光追+100多個mod 震撼展示
YouTube 使用者“Digital Dreams”分享了一段超酷的影片,展示了開啟了全景光追模式(Path Tracing Overdrive)並打了100多個MOD的《電馭叛客2077》的試玩展示,最終的遊戲畫面非常驚人,一起來看看吧!
《電馭叛客2077》全景光追模式+100多個MOD 展示
2,《崩壞:星穹鐵道》1.2前瞻內容匯總 兌換碼
今晚《崩壞:星穹鐵道》1.2版本的前瞻直播大家都看了嗎?沒看也不要緊,小編帶著匯總來啦~
1.2上半卡池:刃(五星)、娜塔莎、青雀、阿蘭
1.2下半卡池:卡芙卡(五星)、桑博、盧卡、希露瓦(盧卡是新四星)
上半五星光錐:到不了的彼岸
下半五星光錐:只需等待
新增Boss/曆戰餘響:不死神識·幻隴(三形態)
新增地圖x2:舟鼎司、鱗淵境
星瓊兌換碼將於7月9日12:00過期,一定要記得換!
中國伺服器:
RT8878D2ULX4
JA9878C2CMF8
EARQP9UKDMYU
國際服:
7B6B7GBZTVTB
MSPT7HAZTCTX
5TPBPGAGBDAK

3,《女神異聞錄5X》二測來咯!新成員新迷宮新故事亮相
由世嘉正版授權、Atlus深度參與、完美世界開發的手遊《女神異聞錄:夜幕魅影》(P5X)即將開始第二次測試,時間定為2023年第三季度!製作人老V帶來最新版本前瞻,包含新的怪盜團成員、新的迷宮宮殿、新的劇情故事等。
4,外媒稱任天堂專利暗示下一代遊戲機或支援與手機連接
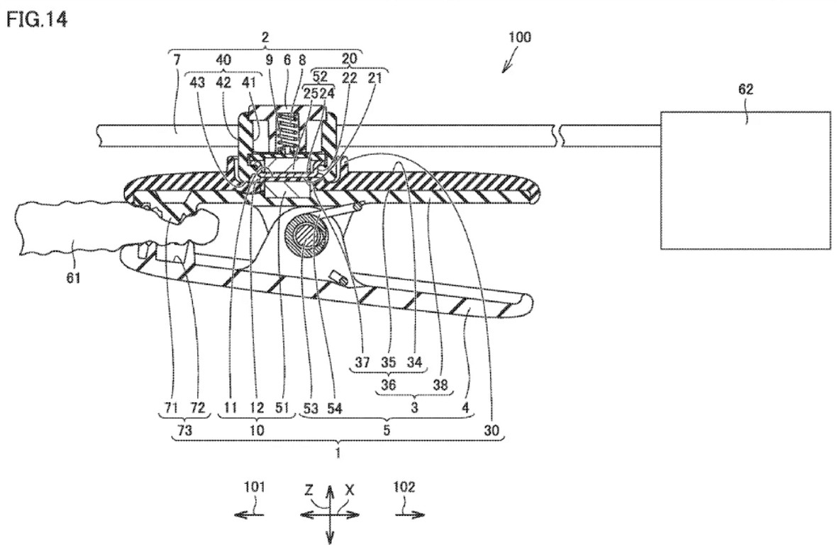
據gamerant報導,任天堂的一項新專利暗示任天堂下一代遊戲機可能支援與手機連接,一起來了解下。專利圖片如下所示,圖片中的62號對象,被描述為控制台,專利中介紹這個控制台包含處理器、記憶體和顯示器,暗示這可能是任天堂的下一代主機。而圖中還有一個巨大的夾子部件,gamerant認為這是類似手機支架的東西,該部件可以自由旋轉,並通過類似表帶的東西(100號對象)與控制台相連接。

5,曝任天堂下代遊戲機明年第一季度推出!台灣鴻準組裝
中國台灣地區財經網站moneydj透露,台灣金屬機殼大廠 鴻準 有任天堂下一代遊戲機的組裝業務,預計任天堂將在2024年第一季度推出新一代Switch,鴻準遊戲機組裝業務有望擴大。鴻準也是負責Swicth組裝的廠商之一。

6,看門狗系列新作漫畫《看門狗:東京》第1卷現已發售!
由育碧、白土晴一和鴨修平打造的看門狗系列新作漫畫《看門狗:東京》第1卷已於7月7日發售。漫畫《Watch Dogs Tokyo》是以育碧開發的動作遊戲「看門狗系列」世界觀為基礎,內容為原創故事。該作品在新潮社的網路漫畫網站上連載中,第2卷預定於8月9日發售。

7,外媒:育碧應更改《刺客教條》重製順序 前四部優先
近日有育碧正在完全重製《刺客教條4:黑旗》的爆料,消息來源非常可靠,基本是已經確定的事。外媒Gamerant發布文章稱,育碧重製《刺客教條》的順序不太合理,初代和艾吉奧三部曲應該優先。Gamerant認為,《刺客教條4:黑旗》是10年前的遊戲,並不算特別老。大多數遊戲的重製版與原版,其時間差距有幾個世代,因此現在重製任何一部《刺客教條》都為時過早。

8,卡普空打恐龍遊戲《原始襲變》發售時不支援跨平台組隊
卡普空打恐龍遊戲《原始襲變(Exoprimal)》官推今日表示,本作在發售時支援跨平台連線對戰,但不支援跨平台(可跨世代)組隊,創建隊伍時將只能邀請特定平台的玩家,官方將其分為三組(不在同一分組無法組隊),如下:
第一組:XboxOne 、Xbox Series X|S、Windows(PGP)
第二組:PlayStation 4、PlayStation 5
第三組:Steam

9,卡普空暗示《洛克人》新作不會很快推出!仍在考慮中
《洛克人EXE合集》在2023年4月28日時僅發售兩周銷量就突破了100萬份,因此卡普空在近日的投資者電話會議上被問到了對《洛克人》系列未來的發展有何計劃,對此卡普空的發言人表示,他們需要“謹慎”開發該系列,正考慮如何製作新作品,暗示了《洛克人》新作不會很快推出。

10,P社模擬人生《你的人生》預告 身體定製功能介紹!
近日,P社全新類“模擬人生”遊戲《你的人生(Life by You)》公布了一段新預告,介紹了遊戲中的身體定製功能,一起來看看吧!
《你的人生》預告
來源:遊俠網