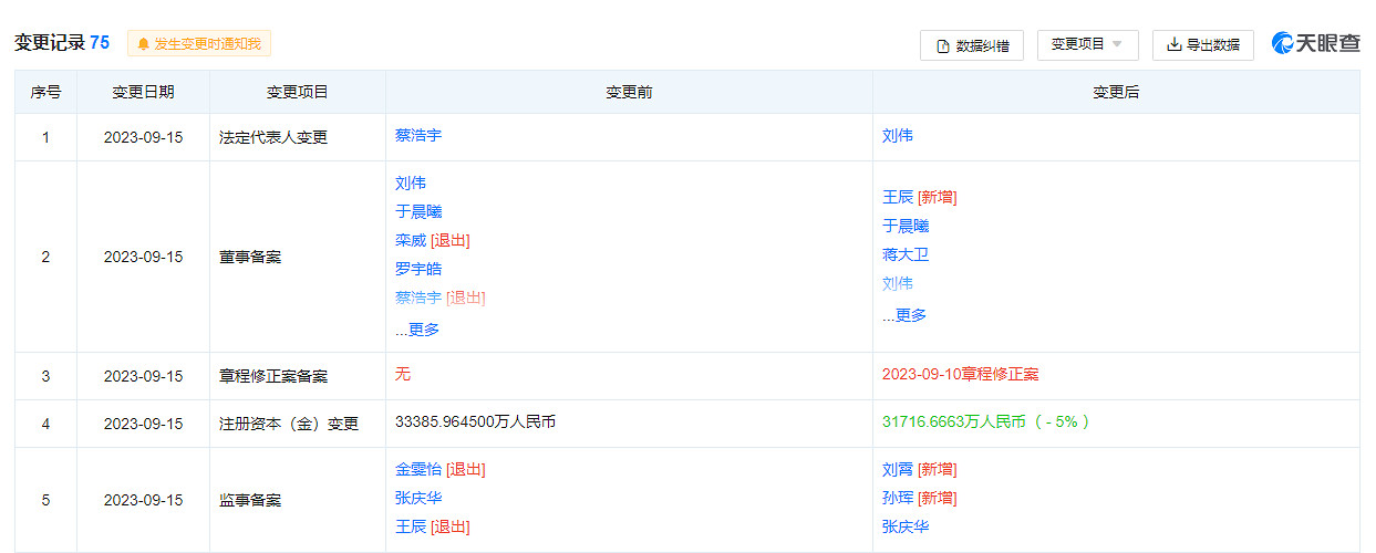
近日,上海米哈遊網路科技股份有限公司發生工商變更,公司法定代表人、董事長由米哈遊創始人蔡浩宇轉為創始人劉偉。目前,蔡浩宇仍為該公司第一大股東。


對此,米哈遊回應道,為了公司未來發展的需要,創始人蔡浩宇將投入更多的精力在前沿科技研究與應用、新項目研發以及整合國外內的研發資源上。而公司管理事務將繼續由創始人、總裁劉偉負責。米哈遊將持續圍繞文創+科創雙輪驅動,為使用者提供創新的、美好的、超出預期的產品與內容。

上海米哈遊網路科技股份有限公司成立於2012年2月,經營範圍含手機及平板電腦移動技術開發、圖文設計製作、動漫設計製作、電信業務等,由蔡浩宇、劉偉、羅宇皓、杭州米藝投資有限公司共同持股。
來源:遊俠網