據天眼查App訊息顯示,網易公司在2023年11月07日成立了網之易(深圳)網路有限公司,註冊資本為100萬人民幣,法定代表人為王怡。王怡是網易高級副總裁,主要負責遊戲的全球發行和市場。此前暴雪遊戲中國伺服器由上海網之易網路科技發展有限公司負責。

深圳網之易一般經營項目包括:軟體開發;技術服務、技術開發、技術谘詢、技術交流、技術轉讓、技術推廣;網際網路銷售(除銷售需要許可的商品);訊息系統內建服務;訊息技術谘詢服務。(除依法須經批准的項目外,憑營業執照依法自主開展經營活動)。

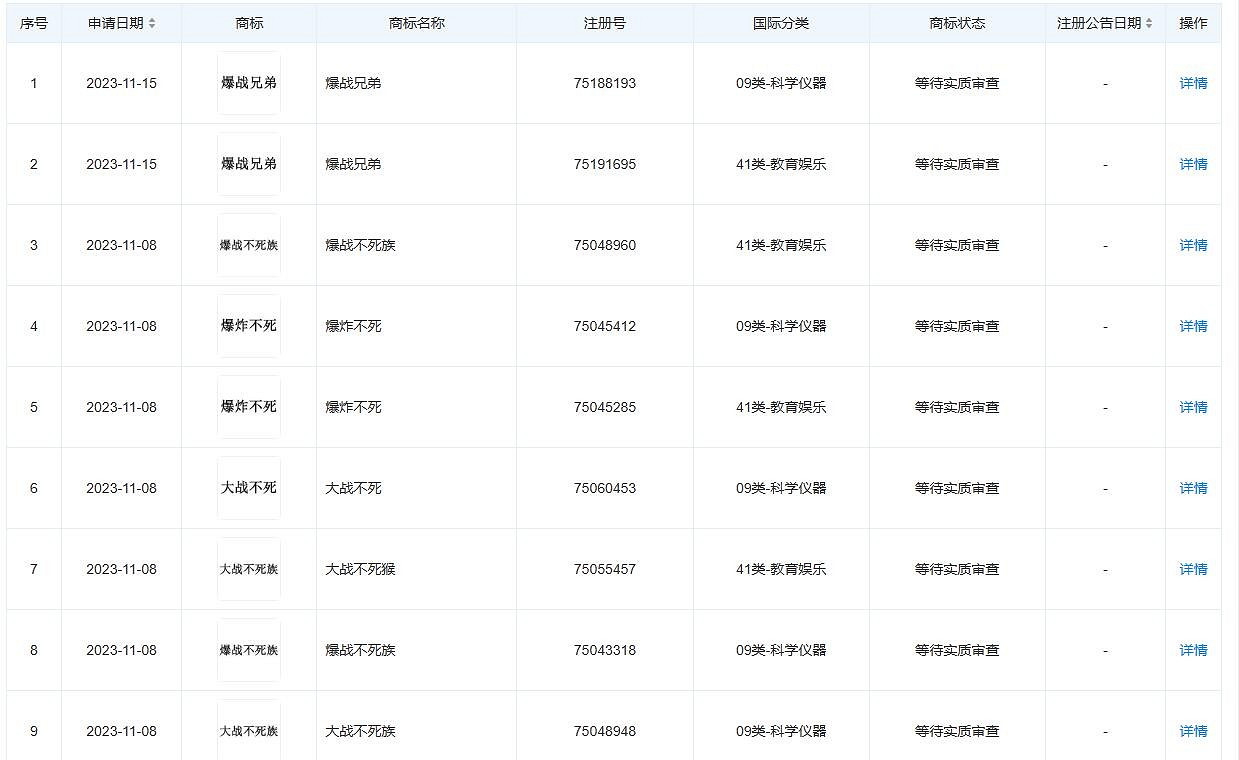
有網友認為,這可能是網易即將於暴雪“複合”的一個信號,不過還有網友發現,網之易(深圳)網路有限公司的母公司——上海網之易璀璨網路科技有限公司於近期註冊了一系列新商標和專利訊息。其中包含“爆戰兄弟”“爆戰不死族”“爆炸不死”“大戰不死”“大戰不死猴”“大戰不死族”等商標。

這樣看來,網之易集團公司未來並不一定是負責暴雪遊戲,也可能有其它項目。所以目前還不能就此確定網易即將與暴雪重新合作。
來源:遊俠網