據GameRant報導,一項新曝光的設計專利顯示,微軟可能正在開發一款可拆卸的遊戲手把,在外形上類似於任天堂 Switch的 Joy-Con 。


該專利將這款手把稱為“自適應輸入設備”,配備了能調節的抓取結構,使其能夠貼合不同類型的移動設備,包括 手機、平板 等。

值得一提的是,在2023年9月 FTC與微軟收購動視暴雪一案曝光的檔案顯示,微軟未來將推出更多種類的遊戲設備,其中就包括上述提到的可拆卸手把,甚至圖片上手把的外形都與專利圖片中的一致。


來源:遊俠網
傳到手機看
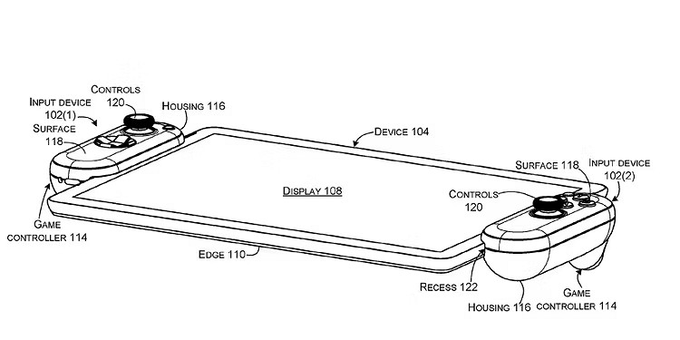
據GameRant報導,一項新曝光的設計專利顯示,微軟可能正在開發一款可拆卸的遊戲手把,在外形上類似於任天堂 Switch的 Joy-Con 。


該專利將這款手把稱為“自適應輸入設備”,配備了能調節的抓取結構,使其能夠貼合不同類型的移動設備,包括 手機、平板 等。

值得一提的是,在2023年9月 FTC與微軟收購動視暴雪一案曝光的檔案顯示,微軟未來將推出更多種類的遊戲設備,其中就包括上述提到的可拆卸手把,甚至圖片上手把的外形都與專利圖片中的一致。


來源:遊俠網