據外媒Gamerant報導,根據一項新專利,索尼可能正在開發“超級代幣”來購買遊戲資產。不可替代代幣(也稱為NFT)自近年來推出以來,收到了不同的反應,但索尼的這個想法可能對遊戲玩家更有吸引力。

遊戲行業不斷發展,專利也發揮著至關重要的作用。索尼就是通過專利不斷取得進步的大遊戲公司之一。索尼最近的一些專利包括允許玩家在遊戲中進行語音和影片通話的專利、可鎖定PlayStation帳戶的年齡限制系統,以及根據玩家技能水準調整難度的系統。
在遊戲機上贈送遊戲內物品已經變得很流行,《要塞英雄》《火箭聯盟》《當個創世神麥塊》等遊戲都提供了這種選擇。Steam還為玩家提供了將遊戲贈送給朋友的功能,這可能為新玩家打開了體驗遊戲的大門。而索尼似乎正在開發一種“超級代幣”,可以以類似方式交換。
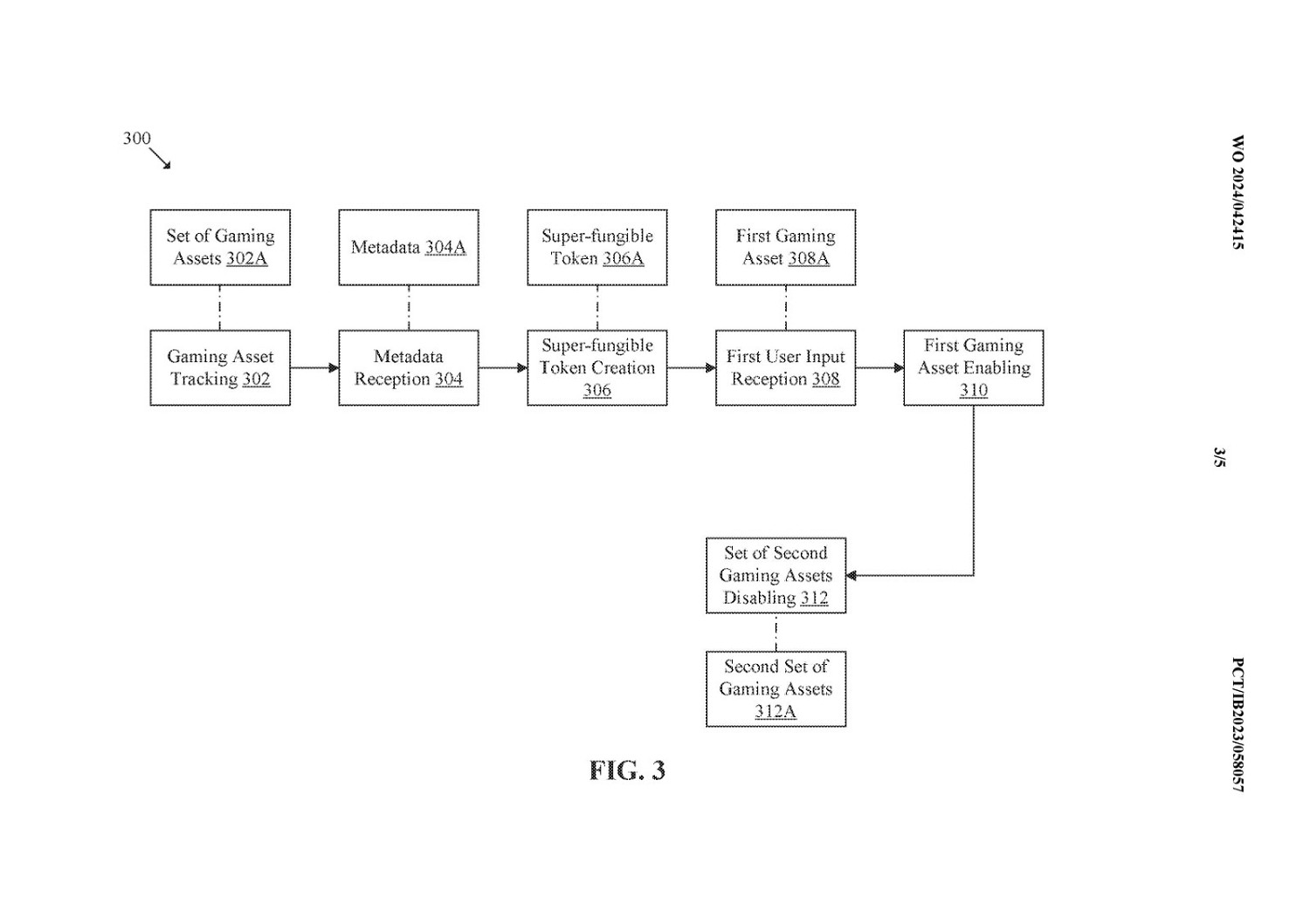
據索尼的一項新專利顯示,其正在研究玩家購買和交換新型代幣的能力。該專利稱其為“超級代幣”,在一個包中包含多個不可替代代幣。與這些NFT相關的是可應用於多種類型遊戲的各種遊戲資產。該專利以競技、體育和格鬥遊戲為例,表明像《MaddenNFL》《快打旋風》這樣的遊戲可從這一概念中受益。

雖然玩家目前可以在特定平台或遊戲上向好友贈送遊戲或遊戲內物品,但在這些平台上兌換貨幣的方法較少。索尼的“超級代幣”可以讓玩家贈送與某些遊戲資產綁定的一次性代幣。
索尼的“超級代幣”使用元資料來識別哪些遊戲資產與玩家的輸入相關聯。這可能包括皮膚以及遊戲中物品、武器或能力等。除了使用這種超級代幣與其他玩家交換物品之外,該專利還提到玩家一次可以使用一種代幣訪問單個NFT。這可能意味著玩家可以從一款遊戲中獲取某些內容並在另一款遊戲中使用。