近日,索尼申請了一項新專利,展示了一個能與PS主機搭配使用的全息顯示系統。

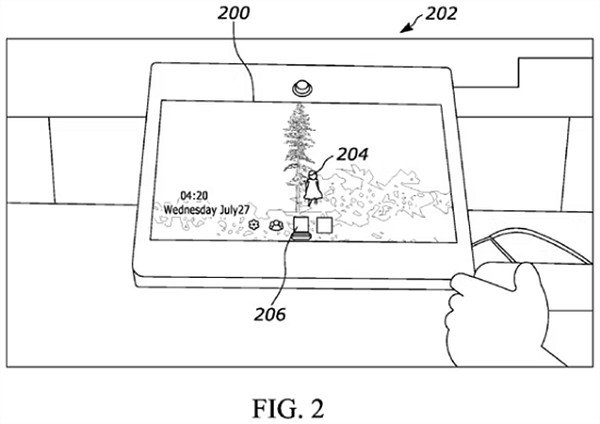
根據專利訊息顯示,索尼正在開發一種全息介面,該介面可以通過PlayStation主機實現,讓使用者可以體驗到3D遊戲、與遊戲角色互動以及化身同伴。這項專利展示了一種能以多種方式使用的螢幕顯示系統,包括3D交互、物理觸控和手勢。

使用者將能夠體驗到以化身為特徵的全息投影,這些角色能夠對面部識別和動作輸入做出反應。這將允許使用者在2D和3D空間中與角色互動,角色能夠通知使用者時間、來電和遊戲更新。比如,使用者可以向螢幕上的角色頭像揮手打招呼,並詢問新的消息或通知。還可以在設備主螢幕上與頭像的3D全息圖進行交互,甚至在遊戲中使用全息顯示技術。



來源:遊俠網