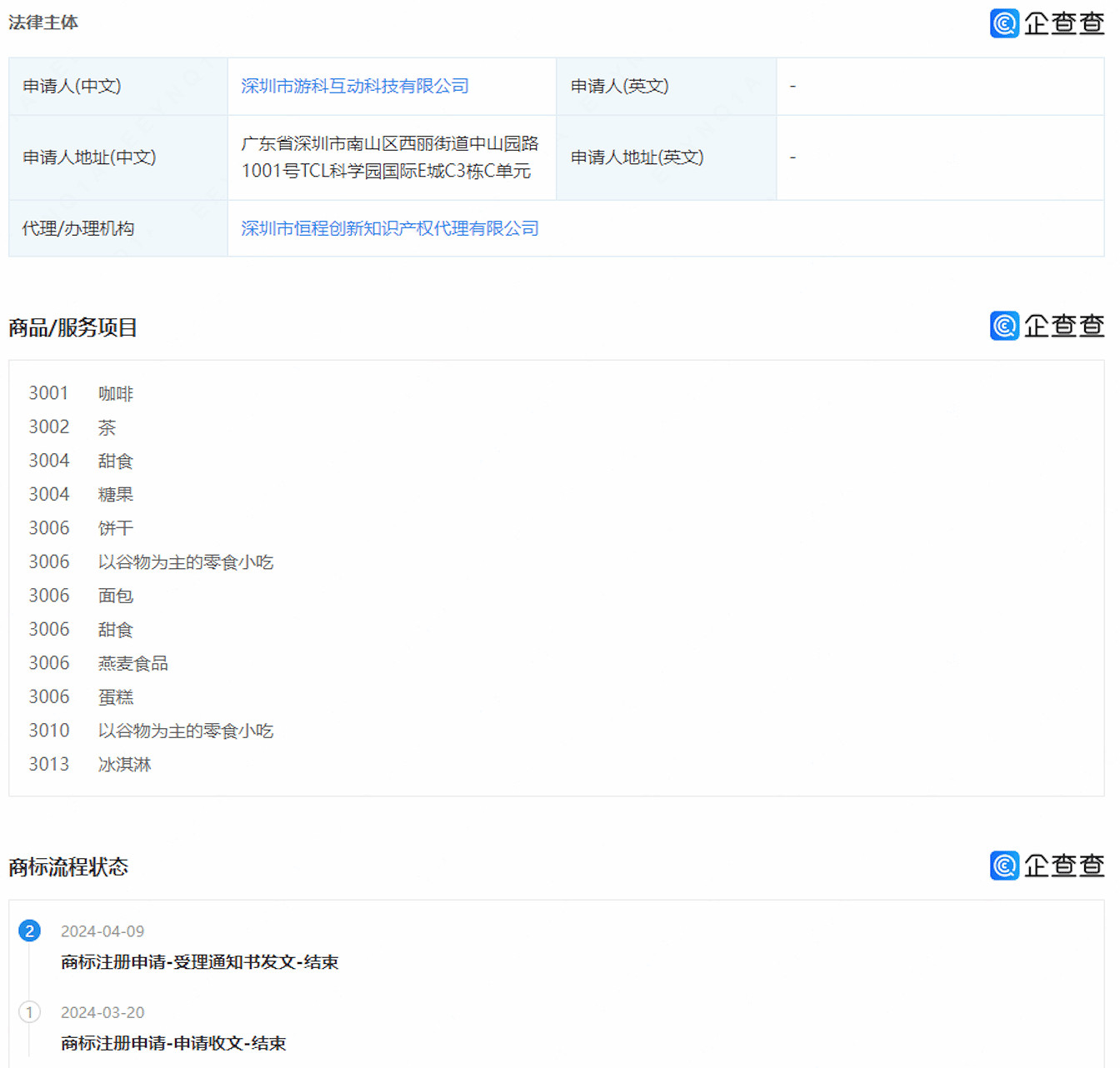
據企查查APP訊息顯示,《黑神話:悟空》開發商遊戲科學於今年3月20日申請了一個名為“820 捌二零”的新商標。商標分類為“30類 方便食品”,其中包含的產品類別有咖啡、茶、甜食、餅乾、麵包等食物。

商標的820寓意肯定是《黑神話:悟空》近幾年公布新物料的時間,以及遊戲發售日。這個商標又會預示著什麽新產品呢,敬請期待。


來源:遊俠網
傳到手機看
據企查查APP訊息顯示,《黑神話:悟空》開發商遊戲科學於今年3月20日申請了一個名為“820 捌二零”的新商標。商標分類為“30類 方便食品”,其中包含的產品類別有咖啡、茶、甜食、餅乾、麵包等食物。

商標的820寓意肯定是《黑神話:悟空》近幾年公布新物料的時間,以及遊戲發售日。這個商標又會預示著什麽新產品呢,敬請期待。


來源:遊俠網