各位網友晚上好,在2023年最後一夜裡希望各位睡的安穩,新的一年裡大家一起加油吧。也不要忘了來「遊戲晚報」看看當天都有哪些值得關注的遊戲資訊喲~
1.Steam明天停止對Win7和Win8系統支援
從2024年1月1日開始,Steam將正式停止對 Windows 7 和 Windows 8/8.1 作業系統的支援。 之後Steam客戶端將無法在這些 Windows版本運行。


2.動視暴雪官網已將 鮑比·考迪克 從領導層列表中刪除
動視暴雪CEO 鮑比·考迪克 於2023年12月29日 正式離職,告別自己掌控了32年的帝國。動視暴雪官網的領導層列表也已將 鮑比·考迪克 刪除。


3.《COD》女程式曝動視暴雪CEO考迪克曾威脅要殺了員工
12月29日動視暴雪CEO 鮑比·考迪克 正式離職後 引來不少前員工公開對其口誅筆伐,爆料了考迪克的諸多惡行。一位《決勝時刻》的女程式員 Christina 表示,她在Demonware(《決勝時刻》合作開發商)做了兩年的《決勝時刻》程式員,鮑比·考迪克 的決定讓遊戲變得糟糕,還曾威脅要殺了一位員工。

4.招聘訊息顯示《P 的謊言》續作採用虛幻5引擎開發
《P 的謊言》遊戲總監 崔智遠 曾確認將製作《P 的謊言》續作。而韓國遊戲開發商 NEOWIZ 官網顯示,他們正在為《P 的謊言》續作招人,開發策劃職位描述中寫到:“以虛幻5引擎為基礎,我們的目標是提供一流的畫面、有深度的關卡設計和激烈的動作體驗。”

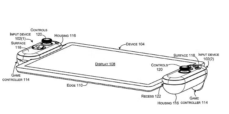
5.曝微軟正研發可拆卸遊戲手把!外形類似任天堂Joy-Con
一項新曝光的設計專利顯示,微軟正在開發一款可拆卸的遊戲手把,在外形上類似於任天堂 Switch的 Joy-Con。專利中手把的外形與2023年9月FTC與微軟收購動視暴雪一案曝光的檔案中一致。



6. 2023年 Xbox Game Pass (XGP) 入庫遊戲總價值為8763美元
TrueAchievements報導稱,2023年入庫Xbox Game Pass所有遊戲的總價值達到8763美元(按原價計算)。

來源:遊俠網